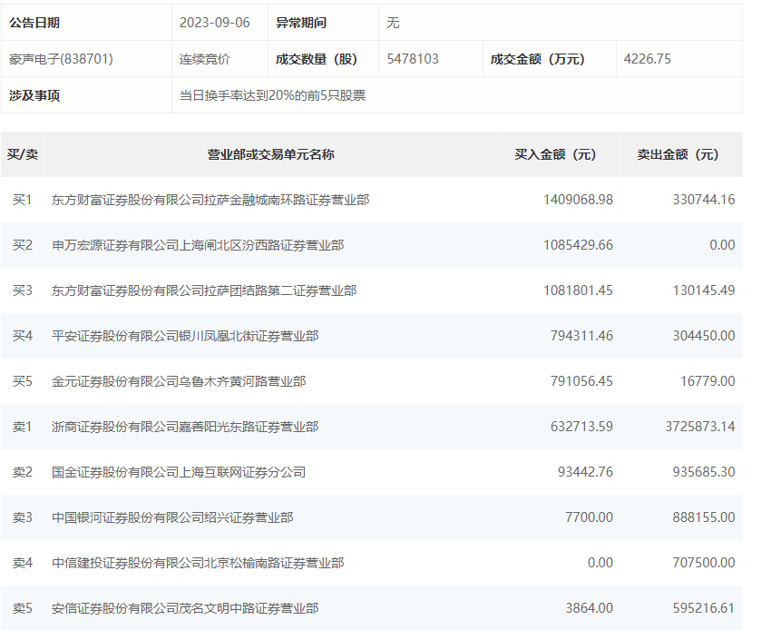
9月6日,豪声电子今日涨9.19%,龙虎榜数据显示,上榜营业部席位全天成交1353.39万元,占当日总成交金额比例为32.02%。其中,买入金额为589.94万元,卖出金额为763.45万元,合计净卖出173.52万元。
具体来看,知名游资现身龙虎榜,赵老哥(中国银河证券股份有限公司绍兴证券营业部)净卖出88.05万元。此外,东方财富证券拉萨金融城南环路证券营业部、申万宏源证券有限公司上海闸北区汾西路证券营业部分别买入140.91万元、108.54万元;浙商证券嘉善阳光东路证券营业部、国金证券上海互联网证券分公司分别卖出372.59万元、93.57万元。
评论