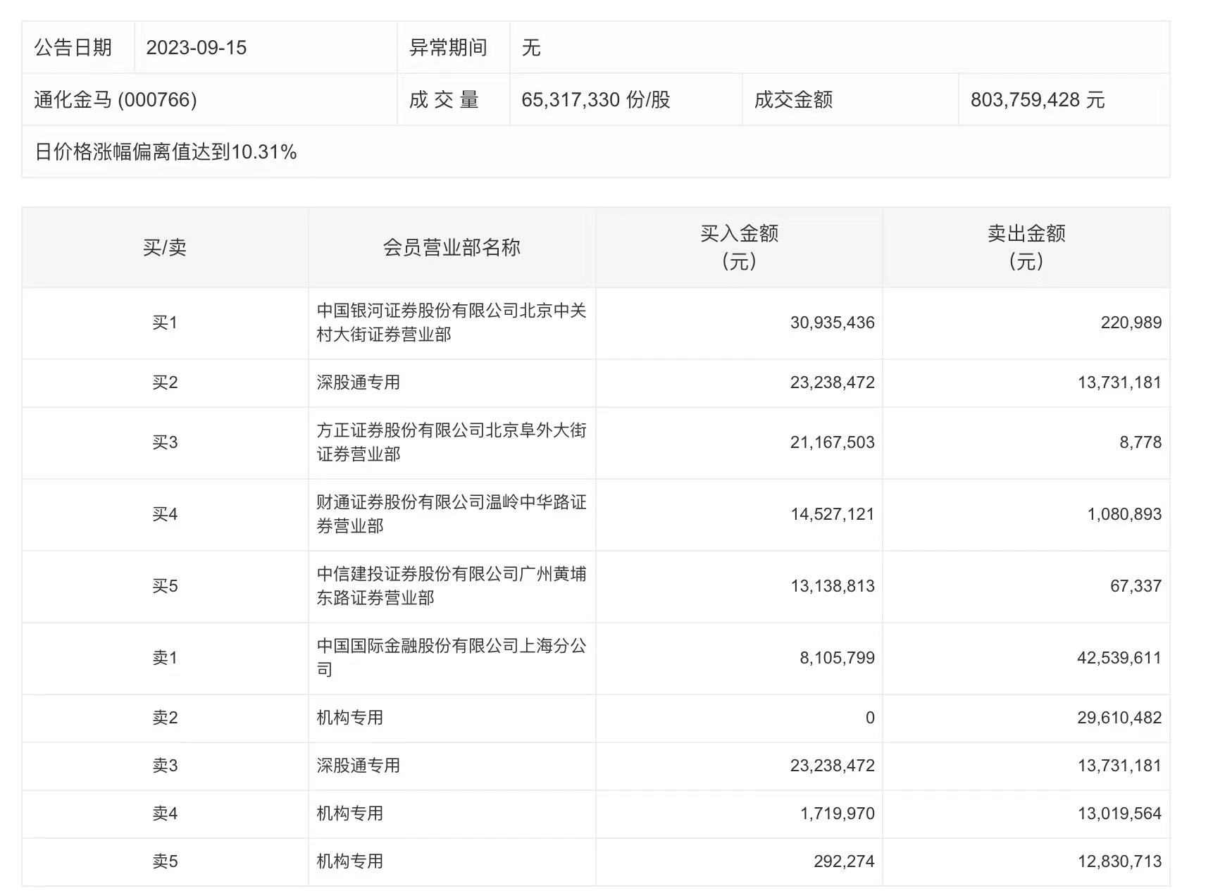
龙虎榜丨通化金马今日涨停录得五连板,三机构净卖出5344.85万元

9月15日,通化金马今日涨停录得五连板,成交额8.04亿元,换手率6.76%,盘后龙虎榜数据显示,深股通专用席位买入2323.85万元并卖出1373.12万元,三机构净卖出5344.85万元。

 

未经正式授权严禁转载本文,侵权必究。

通化金马

  • 通化金马:拟7000万元设立全资子公司桂林金马创新投资有限公司
  • 通化金马(000766.SZ):2025年三季报净利润为2496.35万元

评论

暂无评论哦,快来评价一下吧!