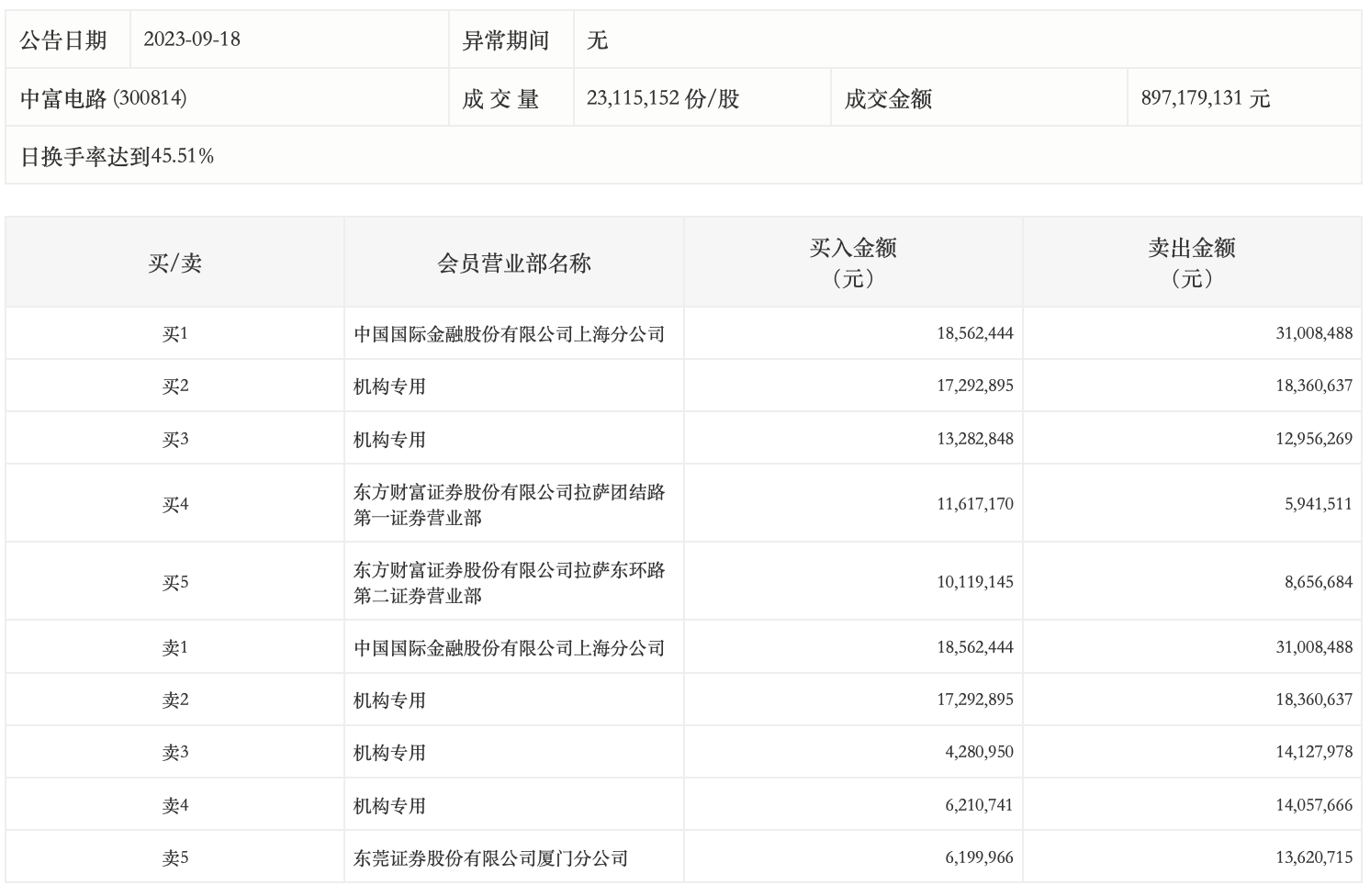
9月18日,中富电路今日涨7.24%,龙虎榜数据显示,上榜营业部席位全天成交2.06亿元,占当日总成交金额比例为22.99%。其中,买入金额为8756.62万元,卖出金额为1.19亿元,合计净卖出3116.38万元。
具体来看,机构买入4106.74万元,卖出5950.26万元,合计净卖出1843.51万元。此外,中国国际金融上海分公司、东方财富证券拉萨团结路第一证券营业部分别买入1856.24万元、1161.72万元;中国国际金融上海分公司、东莞证券厦门分公司分别卖出3100.85万元、1362.07万元。

评论