文|壹览商业 胡杰斌
编辑|木鱼
2018年电视剧一千零一夜结尾部分,主人公所在的花加花艺公司倒闭了,五年后相同的剧情却在现实上演。
9月25日下午,鲜花电商花加人事部门发布了全员信,对于花加当前面临的问题以及员工工资等问题进行了说明。全员信承认了公司遭遇“前所未有的压力”,并表示“过去几个月,淡季、历史订单履约以及银行还款压力,导致公司一直入不敷出”。而9月初公司银行账户被封,对于供应商、客户和员工的转账都被禁止,花加决定进入停业整顿阶段。
事实上,在宣布停业整顿之前,花加的危机就已经开始浮现。
9月,不少与花加有关的投诉帖就已经充斥在各大社交平台上。

在小红书上,一名常年订花的用户发帖称,此前的订单终于退款了,从7月起花加就不能做到定时送花了,购买的鲜花一再被延迟配送,最终决定申请退款。

在黑猫投诉上,从7月起,关于花加鲜花配送不及时的投诉已高达70余条。虽然花加及时回应称:由于供应链调整,以上问题九月就会解决。

然而,到了九月,鲜花配送问题依旧没能解决,用户经历长久等待最终结果却只有上文提到的停业整顿通知。
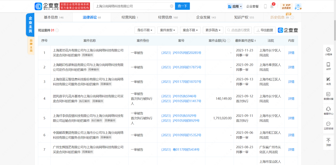
在企业层面,花加早已因资金问题被合作商们诉诸法庭。

根据企查查显示,花加母公司上海分尚网络科技有限公司,已经出现15条风险信息,其中14条都是与各个供货商、包装商、甚至是配送商的合作纠纷。
再加上如今的告全体员工信,如今的花加似乎已经走向品牌末路。
在多年前,花加一度是资本的宠儿,行业的新星,为何在这些年却沦落到这般困境?
花加成立于2015年,彼时垂直鲜花电商一度是热门赛道。据艾瑞咨询统计,2013-2017年,鲜花电商垂直领域共完成融资47笔。除了花加,花点时间、野兽派、泰笛鲜花都是赛道的热门选手,花加更是获得了近3亿元的6轮融资,在这些资金的支持下花加建立了一套鲜花供应体系。
据花加官方介绍,花加采用的是C2F模式(CustomertoFactory顾客对工厂),通过用户订单反馈平台,引导鲜花分配,直接与大型花卉批发市场和花农合作,大批采购。
除此之外,花加拥有自己直接管理的花田,直接监管花田,花源基地收到平台采购订单,就会开始着手采摘。
从鲜花最初采摘下来到最终配送前,则会经过32道保鲜处理,在确保鲜花品质的同时尽可能减少人工成本。
事实上,鲜花品类和一般零售品类相比门槛相对较高,但门槛高却不代表着具有庞大的盈利能力。
中国文旅创新创业智库丛书总编张德欣谈及互联网+鲜花时认为:“鲜花与生鲜有一些相同之处,都需要在配送中讲求时效性,这就要求各个企业要拥有一个靠谱的冷链物流体系。”
零售电商专家庄帅告诉壹览商业:垂直电商本来就是一个伪命题,对于鲜花品类来说,想要做好难度更大。这是因为鲜花具有季节性、地域性和节日性消费的特点,消费频次低。这样获客成本高,用户黏性低。
想要做好,需要大量投入资金来搭建供应链,但产品做好,买的人又不是很多。这种投入与回报不成正比的状态,是花加这类鲜花垂直电商品牌近些年来发展的真实写照。
而这种病态的发展模式让花加多年来一直深陷泥潭。
一方面,是产品质量问题依旧得不到保证。2017年8月,花加因搭配失误,将有毒花束卖给客户,引起轩然大波。而在花费8年对于供应链的建设之后,花加在产品质量方面仍无法有所保证。在黑猫投诉上有将近100条的投诉是控诉产品质量问题。
另一方面,资金链问题。花加虽然前后拥有6次融资,但对于花加来说由于早期相对于其他鲜花电商动辄,就低二三十元的售价,花加基本上是在赔本赚吆喝。除此之外即时零售平台加入鲜花行业之后,成为了压死骆驼的最后一根稻草。
电商零售专家庄帅解释道:鲜花电商本身并不成立,鲜花品类更适合成为即时零售平台的补充品类和开设线下店。消费特征决定了即时零售平台更适合鲜花品类。这也是垂直鲜花电商失败的另外一个原因,即时零售平台(生鲜电商属于自营即时零售)对传统B2C电商模式的竞争加剧,导致本就获客和留客成本过高的鲜花电商无以为继。
随着花加的停业整顿,剩下的同行们确实需要好好思考,垂直鲜花电商的未来究竟在何处。



评论