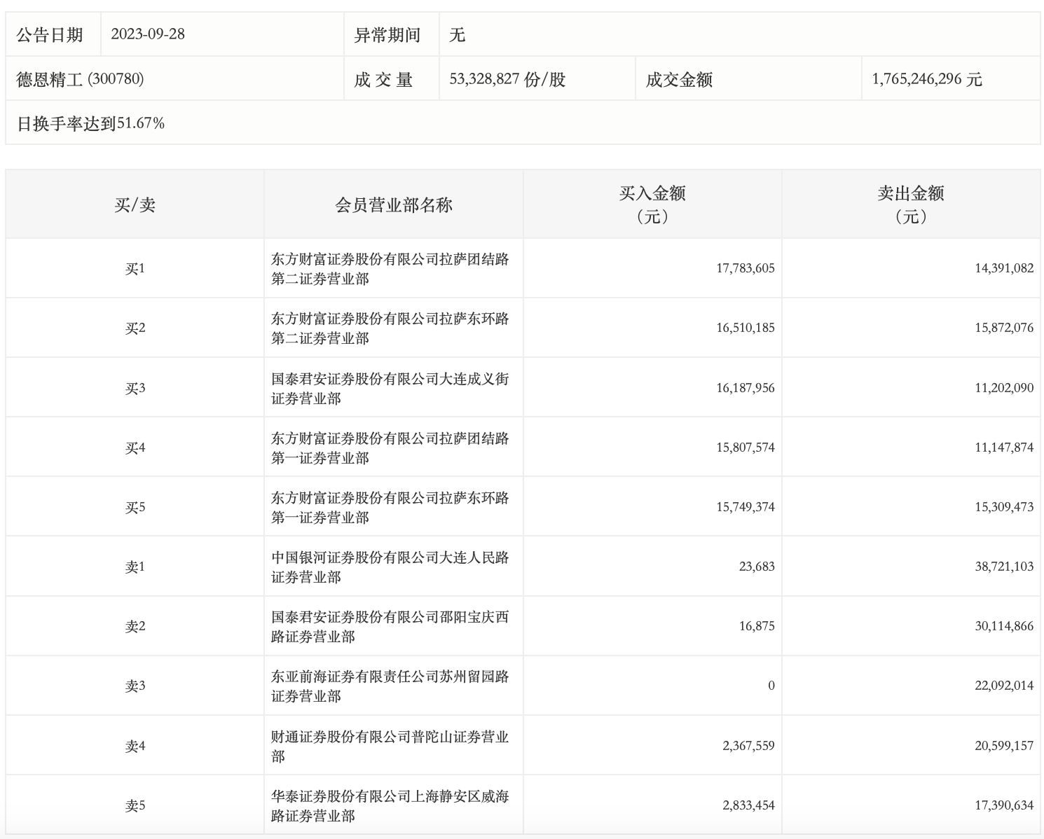
9月28日,德恩精工今日跌7.43%,全天换手率达51.67%,振幅达18.07%。龙虎榜数据显示,营业部席位合计净卖出1.1亿元。其中,中国银河证券大连人民路证券营业部、国泰君安证券邵阳宝庆西路证券营业部分别卖出3872.11万元、3011.49万元;东方财富证券拉萨团结路第二证券营业部、东方财富证券拉萨东环路第二证券营业部分别买入1778.36万元、1651.02万元。

来源:界面新闻
9月28日,德恩精工今日跌7.43%,全天换手率达51.67%,振幅达18.07%。龙虎榜数据显示,营业部席位合计净卖出1.1亿元。其中,中国银河证券大连人民路证券营业部、国泰君安证券邵阳宝庆西路证券营业部分别卖出3872.11万元、3011.49万元;东方财富证券拉萨团结路第二证券营业部、东方财富证券拉萨东环路第二证券营业部分别买入1778.36万元、1651.02万元。

评论