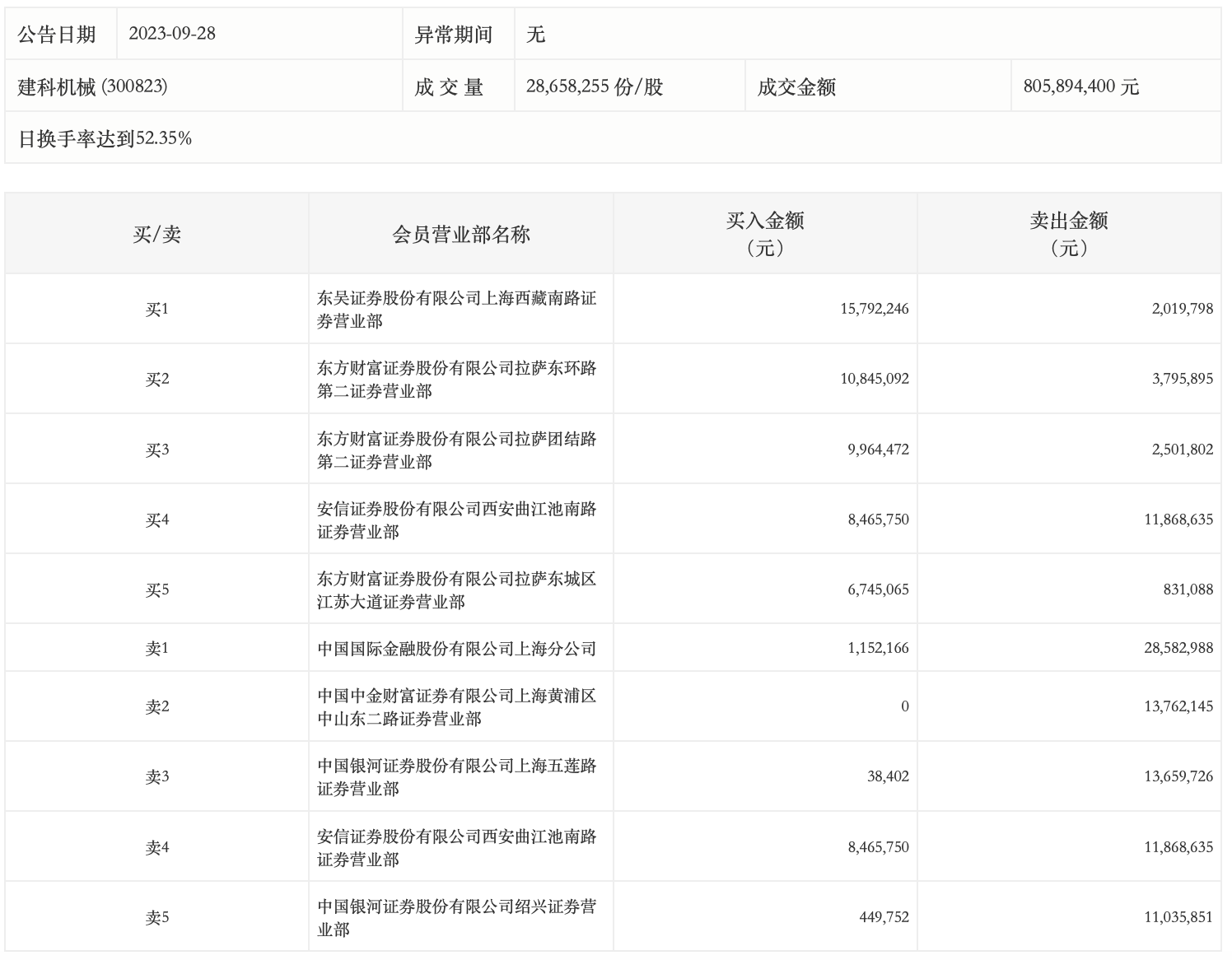
9月28日,建科机械今日涨2.79%,龙虎榜数据显示,上榜营业部席位全天成交1.42亿元,占当日总成交金额比例为17.56%。其中,买入金额为5345.29万元,卖出金额为8805.79万元,合计净卖出3460.5万元。
具体来看,知名游资现身龙虎榜,赵老哥(中国银河证券股份有限公司绍兴证券营业部)净卖出1058.61万元。此外,东吴证券上海西藏南路证券营业部、东方财富证券拉萨东环路第二证券营业部分别买入1579.22万元、1084.51万元;中国国际金融上海分公司、中国中金财富证券有限公司上海黄浦区中山东二路证券营业部分别卖出2858.30万元、1376.21万元。

评论