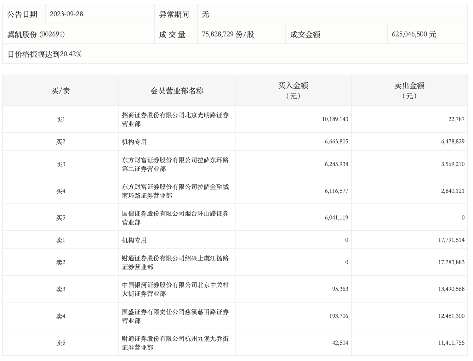
9月28日,冀凯股份今日跌停,龙虎榜数据显示,上榜营业部席位全天成交1.21亿元,占当日总成交金额比例为19.44%。其中,买入金额为3562.82万元,卖出金额为8587.0万元,合计净卖出5024.18万元。
具体来看,机构买入666.38万元,卖出2427.03万元,合计净卖出1760.65万元。此外,财通证券绍兴上虞江扬路证券营业部、中国银河证券北京中关村大街证券营业部分别卖出1778.39万元、1349.06万元;招商证券北京光明路证券营业部、东方财富证券拉萨东环路第二证券营业部分别买入1018.91万元、628.59万元。

评论