文|野马财经 张凯旌
编辑|武丽娟
新冠疫情期间,抗病毒中药“连花清瘟”火出了圈,一度卖到断货。其背后的药企以岭药业(002603.SZ)更是名利双收,股价在不到两年的时间里翻了3倍,如今虽然市值较高点腰斩,但仍有392亿元。而曾与以岭齐名、同样主卖抗病毒中成药的香雪制药(300147.SZ)则经历了截然不同的命运。
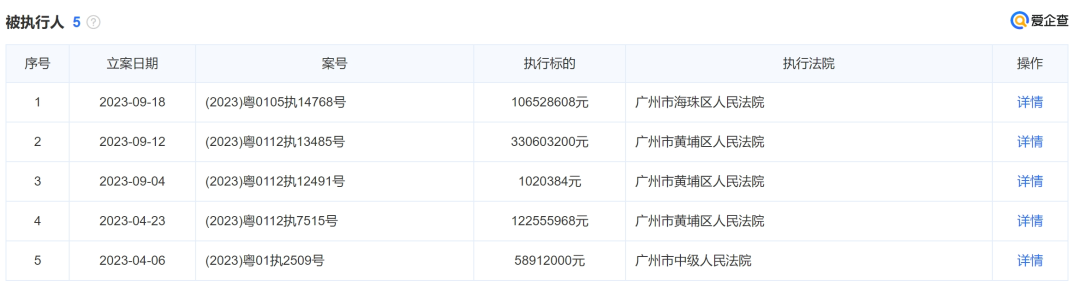
近日,香雪制药公告了子公司香岚健康被依法申请强制执行1.07亿元的情况。算上这起案件,半年内香雪制药累计被执行金额已超7亿元。期间公司股价也持续走低,截至10月9日市值仅剩35亿元,被以岭药业拉开了超过十倍的差距。而在2015年时,公司市值曾超200亿元。
“法院的强制执行事项均因公司资金紧张,未能按照相关协议或调解书付款所致。”8月,香雪制药曾如是回复投资者。
而在产品方面,香雪的抗病毒口服液虽然也曾被广东省卫健委列入新冠肺炎防控物资清单,但公司却因宣称“自家凉茶可以预防新冠,还被广州卫健委推荐引用”被当地市监局认定为虚假宣传,并被罚款30万元。
不过,众多强执事项中,香岚健康的案例还是有其特殊之处。无论是这家公司本身,还是令其与债主“人才集团”产生纠纷的生物岛2号地块,都隐藏了不少未解之谜。

未按时交工酒店,香岚健康被起诉
2016年5月,主营中药的香雪制药突然抛出一份收购协议,拟以15.73亿元对价买下一块烂尾的五星级酒店项目——生物岛,一时间引发广泛关注。
抛开中药和酒店行业的关联性,截至2016年3月底,香雪制药账上现金及现金等价物不过6亿元出头。资金不充裕,还要斥巨资购买一个仍需要大量投入、且盈利情况极为不确定的标的,香雪制药的操作颇有些让人摸不着头脑。
不过,生物岛项目很快派上了用场。2017年,香雪制药就将生物岛项目2号地块及相关资产划转到了刚刚成立的广州协和精准医疗有限公司(现名为香岚健康)名下,随后将香岚健康以16.2亿元的价格卖给了控股股东昆仑投资。
资产一进一出,香雪制药获得1.34亿元投资收益,公司2017年的归母净利润定格在近6600万元。换言之,通过卖香岚健康,香雪制药当年实现了纸面盈利。
有意思的是,2021年,香雪制药在自查发现昆仑投资及关联方占用上市公司资金后,又提出以资抵债,花15亿元把香岚健康买了回来。但此时,香岚健康身上已经多出了来自昆仑投资9.29亿元的借款。
同一个资产,在香雪制药和昆仑投资之间来回腾挪,其中的价值评估、资金去向都有许多蹊跷之处。深交所关注函就曾提问交易“是否涉嫌调节上市公司利润”。
比如2016年香雪制药的《资产评估报告》显示,生物岛项目已完成主体建筑施工,尚未完成室内装饰工程;2017年,香雪制药对生物岛的投入达1.32亿元;转给昆仑投资后,多出9.29亿元借款;2021年,香雪制药在香岚酒店项目上又投了3.25亿元;前后近5年,投入超12亿,连室内装修都未完全完工。事实上,直至今年上半年,生物岛相关项目的进度仍未达100%。

来源:香雪制药2021年年报
而本次强执的主角人才集团,就是生物岛酒店没完工的“受害者”之一。
根据法院判决书,2018年5月,香岚健康曾与人才集团约定,将生物岛项目的整体资产作为“官洲生物产业论坛”配套的酒店接待设施租给人才集团。由香岚健康在租赁前完成酒店建设、装修等工作,确保其能在论坛开始前(2018年11月)交付给人才集团使用。
人才集团的全称是广州开发区人才工作集团有限公司,其背后是广州开发区管委会,而官洲生物产业论坛是其打造生物医药产业的重要高端学术论坛。
人才集团还曾给香岚健康交了1亿元保证金,但即便如此,生物岛项目的建设进度依旧异常缓慢。双方本约定2018年10月15日进行第一次整体验收,但直至当年官洲论坛开始时,香岚健康仍只交付了会议室,住宿、餐厅一概没有,最终的竣工时间甚至拖到了2021年11月17日。香雪制药证代表示,生物岛的酒店对外正式开业于2022年7月,目前在正常经营。
人才集团认为香岚健康合同违约,并上诉至法院。强制执行的1.07亿元,包括了人才集团要求退还的1亿元保证金,以及拖欠款项产生的利息。
而截至今年上半年,香雪制药账上现金及现金等价物余额仅有8520.03万元,并不够还这笔钱。
资金紧张,香雪制药开始“卖卖卖”
被香雪制药“坑”的不只有人才集团一家国企。
2021年,香雪制药曾与广州高新区投资集团有限公司(下称“高新投”)针对自己的中药饮片车间——云埔厂区三旧改造项目签署了一系列合作开发协议。按约定,高新投会以5.5亿元对价收购云埔厂区,其中2.9亿元为股权转让预付款,2.6亿元以借款的名义向香雪制药支付。
然而仅过了一年,香雪制药就被高新投告上法庭,原因是香雪制药拿了2.9亿元预付款,却没按约定将云埔厂注入目标公司,甚至都没涂销云埔厂对应的抵押权。
也就是说,香雪制药与高新投签协议时,云埔厂就是被抵押在其他地方的状态,从签完协议到被高新投告,云埔厂的抵押一直没解除。
目前,该起案件为香雪制药带来的被执行金额为3.31亿元。
除此之外,香雪制药还有5起被执行案件,申请执行方包括广州高新区融资租赁有限公司、华晟基金、华元城市运营管理(横琴)股份有限公司、中国银行广州开发区分行和钱潍琛、钱嘉琪、孔丽娟、钱志云四名自然人。这些案件的立案日期都是最近半年,算上高新投案和人才集团案,香雪制药累计被执行金额超7亿元。

来源:爱企查
公司证代表示,这些都是合作的款项,而非借款,只是后期因为合作事项发生变故,双方没达成一致对方才起诉的。其中执行金额比较大的案子都涉及当地国企,因此公司正在积极与政府沟通协调,寻求一些帮扶、援助;另外,公司还在剥离一些非主营的业务,寻求快速变现。
野马财经注意到,近一段时间香雪制药确实有不少甩卖资产的动作。
8月,香雪制药以2亿元转让参股公司天济药业18.87%股权,借此清仓了天济药业。去年,香雪制药也曾转让天济药业35%股权,转让款3.85亿元。
2021年-2022年,香雪制药还接连出售了兆阳生物、香雪生物、香雪亚洲饮料、九极日用保健品、茂名恒颐等旗下资产,加上天济药业的股权转让款,累计回笼资金近10亿元。
与此同时,香雪制药还在通过定增、借款等方式为公司“输血”。转让天济药业股权的同一天,公司就发出了一份拟定增9.6亿元的预案,其中有1.8亿元用于补充流动资金;今年4月,香雪制药和子公司还曾分别向广东南海农商行申请3.7亿元、7550万元借款重组,向广州农商行黄埔支行和建行广州开发区分行分别申请5.5亿元、4.57亿元借款展期。

来源:香雪制药公告
一切动作都指向香雪制药面临的资金压力。截至今年上半年,香雪制药资产负债率已达到70.07%,在A股长江证券中药73家成分股中高居第五;其还有66份欠税公告,累计欠税近4000万元。
公司在7月的公告中提到,一年内到期的长期、短期债务合计余额20.03亿元,存在债务结构不合理及短期借款集中到付的风险。
“92派”王永辉还能力挽狂澜吗?
如今的窘迫,与昔日香雪制药的成功形成了鲜明的对比。
香雪制药的创始人王永辉,是“92派”企业家的一员,创业前曾任广州万宝集团洗衣机公司的技术开发部部长、副总经理。相传其下海后的第一桶金来自与朋友合开的办公用品厂。
但出身于中药世家的王永辉,显然并不满足于此。适逢当地萝岗制药厂改制,王永辉果断用第一桶金买下药厂三分之二的股份,就此迈出了进军中药市场的第一步。
此前,萝岗制药厂本来是为“太阳神”等保健品巨头代工的工厂,但也因此在巨头倒下后遭遇经营困境。王永辉见状,希望通过走品牌之路帮企业转型升级,而来自张仲景《伤寒论》名方、由沈阳药科大学和萝岗制药厂联合研制的一款抗病毒口服液,就成为了振兴品牌的支点。
于是,“香雪”的名字应运而生。为贯彻品牌战略,王永辉还在2002年-2003年连续两年冠名广州足球队,并通过2003年的非典“一战成名”。
“一讲香雪,全广东都知道,因为非典期间有关部门推荐用中药抗病毒口服液,那时候香雪抗病毒口服液卖断货,拿货的车排了十多公里。”据佛山电视台旗下“高明新闻”,王永辉曾如是说道。当北京市场出现短缺时,王永辉一度拍板决定无偿捐赠香雪抗病毒口服液,这场价值1000万元的义举,也为香雪打开了全国知名度。
那时的王永辉,不仅长于营销,还做出了不少开创性的壮举。比如其推动研发了国内首创的现代中药指纹图谱质量控制技术,可以辨别中药产品的主要成分与具体含量,保证药品质与量的一致性;又如其推动在英国建立了香雪剑桥中药国际研究中心——国内首家海外中药研发单位。目前香雪的板蓝根颗粒已经成为了首个在英国以药品身份获批的中药。
然而自2010年上市后,王永辉便“迷”上了资本运作。上市两年半,香雪制药已斥资近10亿元,收购了9个项目公司,其中不乏溢价6倍收购的情形,不少公司还迟迟未达效益。

来源:香雪制药2011年年报
2016年,香雪制药又收购了至今还在多方面饱受质疑的生物岛项目。虽然其中的酒店已于去年开业,但证代称,目前效益并不是太好。
资深医药专家郭新峰认为,香雪制药目前的经营情况,有其投资不力的原因。“主业都没做大做强的情况下,还去投商业地产、直销、饮片这些项目,导致资金链越来越紧张。”
值得一提的是,香雪制药过去这些年的投资,也确实是有其内在逻辑。起初是瞄准大健康产业,后续又盯上了生物医药,但想要在这些领域做出成绩,都不容易。
2012年,美国医药公司Kinex曾授权香雪制药在大中华地区,针对肿瘤适应症开发小分子药物KX02并使其商业化。当时香雪制药一度被捧为“脑瘤药第一股”,但时至今日,脑胶质瘤的一线化疗药物也仅有一款,香雪制药则还在I期临床阶段。
类似的是,2019年香雪制药切入TCR-T领域,开始研发一种通过细胞疗法治肿瘤的新药。至今也还在II期临床阶段。

来源:香雪制药2023年半年报
“细胞治疗成药很难。”郭新峰表示,现在的细胞治疗都是先针对罕见病讨巧上市,再去扩展肿瘤适应症,但又因为罕见病患者少,销售额低,商业化很难成功。而且前期投资很大,没有足够的实力,一般企业是不会碰的。
新路难走,老路触顶,香雪制药未来的方向,可能将是王永辉未来很长一段时间内思考的问题。
你买过香雪抗病毒口服液吗?如何看待王永辉的种种并购?评论区聊聊吧!



评论