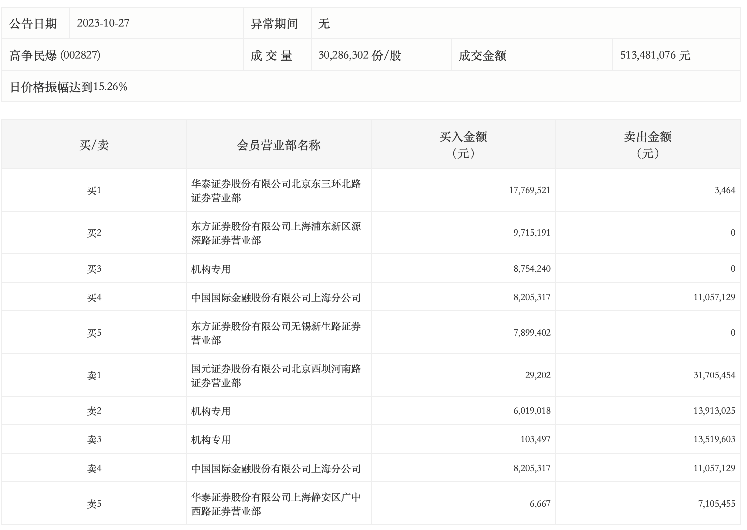
10月27日,高争民爆今日涨停,全天换手率达10.97%,振幅达14.56%。龙虎榜数据显示,营业部席位合计净卖出1880.21万元。其中,机构买入1487.68万元,卖出2743.26万元,合计净卖出1255.59万元。此外,华泰证券北京东三环北路证券营业部、东方证券上海浦东新区源深路证券营业部分别买入1776.95万元、971.52万元;国元证券北京西坝河南路证券营业部、中国国际金融上海分公司分别卖出3170.55万元、1105.71万元。

来源:界面新闻
10月27日,高争民爆今日涨停,全天换手率达10.97%,振幅达14.56%。龙虎榜数据显示,营业部席位合计净卖出1880.21万元。其中,机构买入1487.68万元,卖出2743.26万元,合计净卖出1255.59万元。此外,华泰证券北京东三环北路证券营业部、东方证券上海浦东新区源深路证券营业部分别买入1776.95万元、971.52万元;国元证券北京西坝河南路证券营业部、中国国际金融上海分公司分别卖出3170.55万元、1105.71万元。

评论