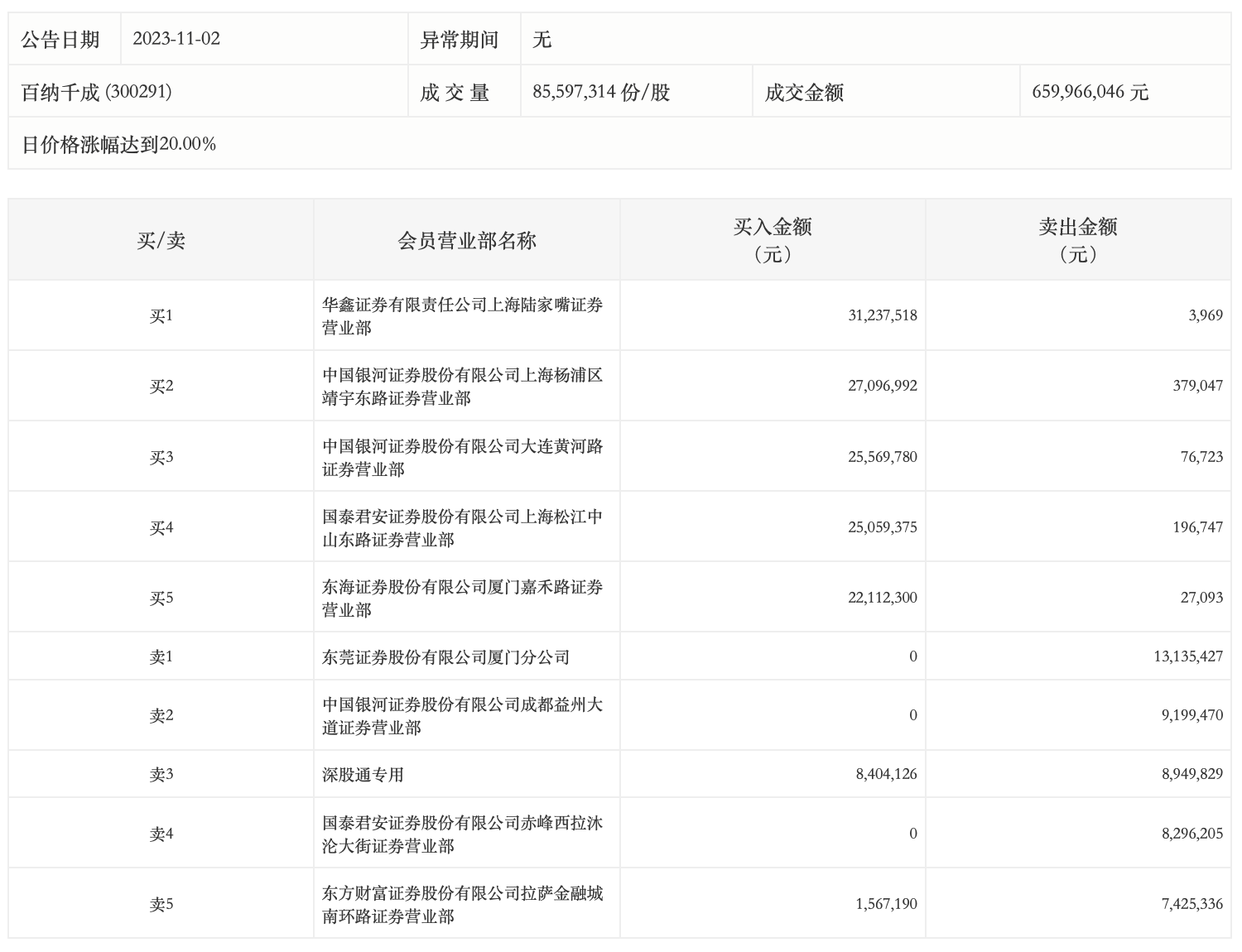
11月2日,百纳千成今日涨停,全天换手率10.35%,成交额6.60亿元,振幅17.29%。龙虎榜数据显示,深股通净卖出54.57万元,营业部席位合计净买入9390.31万元。深交所公开信息显示,当日该股因日收盘价涨幅达20.00%上榜,深股通净卖出54.57万元。上榜的前五大买卖营业部合计成交1.89亿元,其中,买入成交额为1.41亿元,卖出成交额为4768.98万元,合计净买入9335.74万元。

来源:界面新闻
11月2日,百纳千成今日涨停,全天换手率10.35%,成交额6.60亿元,振幅17.29%。龙虎榜数据显示,深股通净卖出54.57万元,营业部席位合计净买入9390.31万元。深交所公开信息显示,当日该股因日收盘价涨幅达20.00%上榜,深股通净卖出54.57万元。上榜的前五大买卖营业部合计成交1.89亿元,其中,买入成交额为1.41亿元,卖出成交额为4768.98万元,合计净买入9335.74万元。

评论