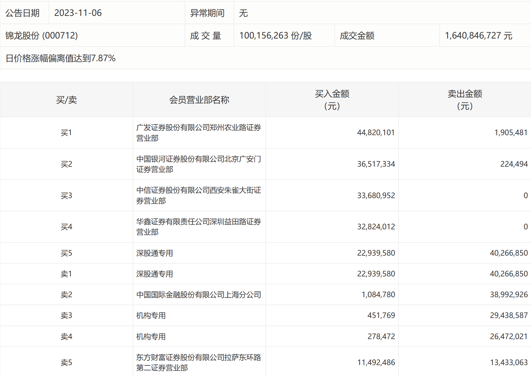
11月6日,锦龙股份今日涨停,龙虎榜数据显示,上榜营业部席位全天成交3.35亿元,占当日总成交金额比例为20.41%。其中,买入金额为1.84亿元,卖出金额为1.51亿元,合计净买入3335.61万元。
具体来看,机构买入73.02万元,卖出5591.06万元,合计净卖出5518.04万元。此外,知名游资现身龙虎榜,方新侠(中信证券股份有限公司西安朱雀大街证券营业部)净买入3368.10万元。此外,广发证券郑州农业路证券营业部、中国银河证券北京广安门证券营业部分别买入4482.01万元、3651.73万元;深股通专用、中国国际金融上海分公司分别卖出4026.68万元、3899.29万元。

评论