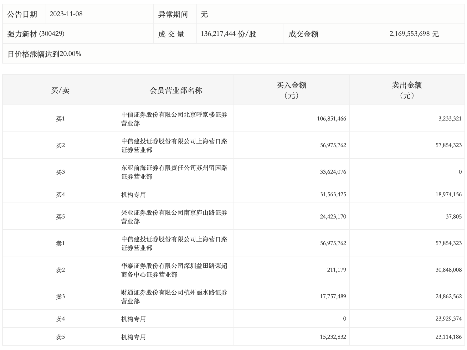
11月8日,强力新材今日涨停,全天换手率达36.26%,振幅达23.51%。龙虎榜数据显示,营业部席位合计净买入1.04亿元。其中,机构买入4679.63万元,卖出6601.77万元,合计净卖出1922.15万元。此外,中信证券北京呼家楼证券营业部、中信建投证券上海营口路证券营业部分别买入1.07亿元、5697.58万元;中信建投证券上海营口路证券营业部、华泰证券深圳益田路荣超商务中心证券营业部分别卖出5785.43万元、3084.80万元。

来源:界面新闻
11月8日,强力新材今日涨停,全天换手率达36.26%,振幅达23.51%。龙虎榜数据显示,营业部席位合计净买入1.04亿元。其中,机构买入4679.63万元,卖出6601.77万元,合计净卖出1922.15万元。此外,中信证券北京呼家楼证券营业部、中信建投证券上海营口路证券营业部分别买入1.07亿元、5697.58万元;中信建投证券上海营口路证券营业部、华泰证券深圳益田路荣超商务中心证券营业部分别卖出5785.43万元、3084.80万元。

评论