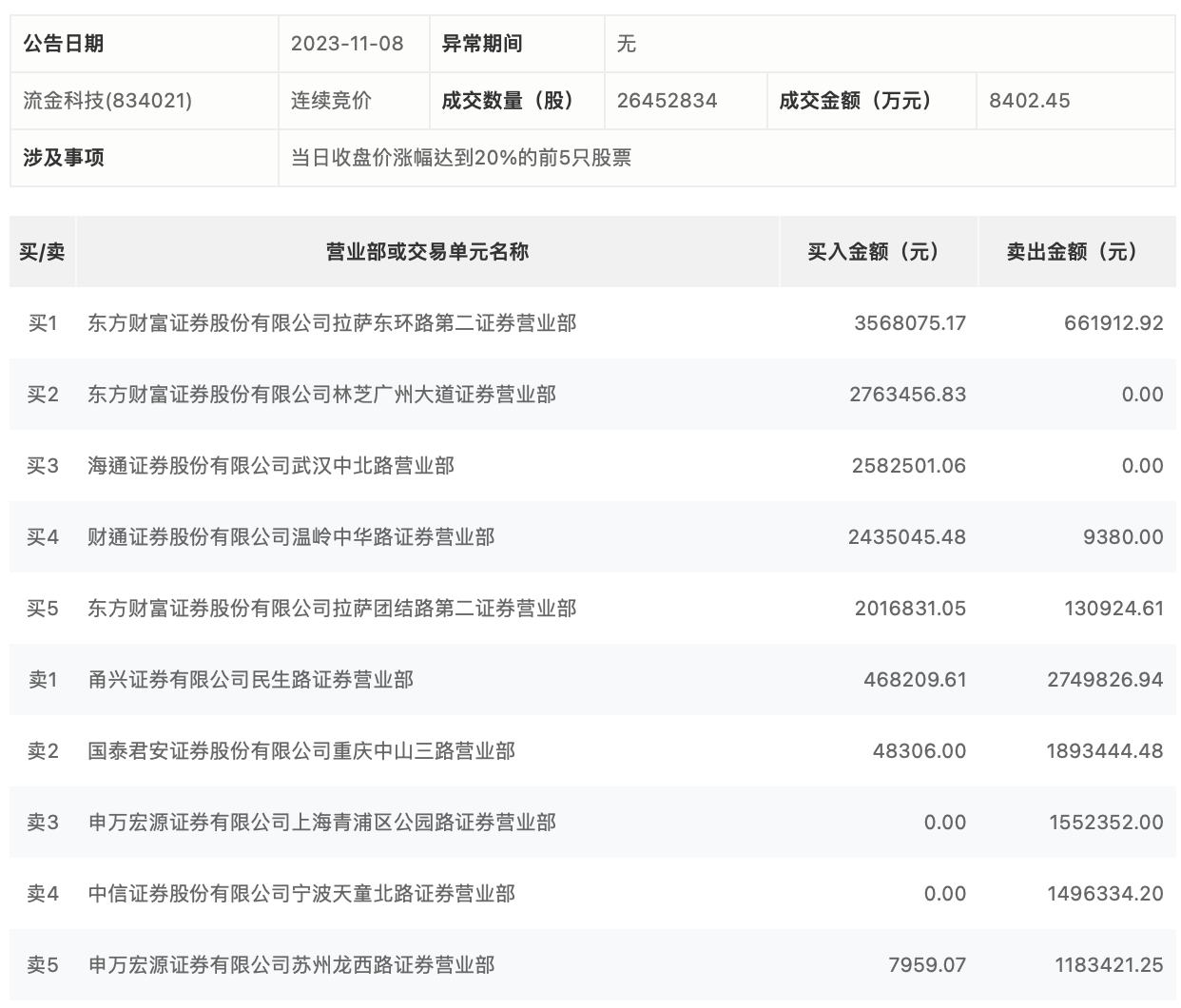
11月8日,流金科技今日涨26.05%,全天换手率达11.46%,振幅达31.8%。龙虎榜数据显示,营业部席位合计净买入421.28万元。其中,东方财富证券拉萨东环路第二证券营业部、东方财富证券林芝广州大道证券营业部分别买入356.81万元、276.35万元;甬兴证券有限公司民生路证券营业部、国泰君安证券重庆中山三路营业部分别卖出274.98万元、189.34万元。

来源:界面新闻
11月8日,流金科技今日涨26.05%,全天换手率达11.46%,振幅达31.8%。龙虎榜数据显示,营业部席位合计净买入421.28万元。其中,东方财富证券拉萨东环路第二证券营业部、东方财富证券林芝广州大道证券营业部分别买入356.81万元、276.35万元;甬兴证券有限公司民生路证券营业部、国泰君安证券重庆中山三路营业部分别卖出274.98万元、189.34万元。

评论