文|化妆品观察
11月22日,国家药监局发布实施《牙膏备案资料管理规定》(简称《规定》)的公告,《规定》共3章32条,从产品配方、标签、功效宣称、销售包装等多个方面,对牙膏备案提出了具体的资料要求。

此前,《牙膏监督管理办法》(简称《办法》)发布后,“牙膏需备案”曾引发行业讨论,彼时备案资料、备案方法等并未明确,让企业摸不着头脑。如今《规定》的发布,让一些“揣测”有了更清晰的结果,企业也有了参考的依据和章法。
作为配套文件,《规定》与《办法》均将于2023年12月1日起施行。不少行业人士表示,“牙膏行业即将要大洗牌了”。
01 这三类牙膏产品遭严管
“《规定》总体在预期之内,整体参照化妆品备案资料的管理要求,但由于牙膏监管的历史问题和品类特殊性,对牙膏针对性做了一些规定。”行业资深产品经理郭晓峰如是表示。

具体而言,化妆品功效宣称严禁暗示医疗作用,但牙膏允许宣称防龋、抑牙菌斑、抗牙本质敏感、减轻牙龈问题4个功效,相当于在这方面做了一些豁免。
不过,《规定》对这4个功效性牙膏的备案资料提出了更高的要求——鉴于防龋、抑牙菌斑、抗牙本质敏感、减轻牙龈问题等功效的牙膏,安全风险较大,需进行人体功效评价,并提交毒理学实验报告;宣称其他功效的,可以根据功效宣称的需要,采用人体评价方法或其他评价方法证明所宣称的功效;而仅宣称清洁的牙膏,可免于功效评价及上传功效依据摘要。
同样属于重点监管对象的还有儿童牙膏。《规定》进一步明确了儿童牙膏的定义、警示用语的标注方式,提出在安全评估资料中提交配方设计原则等要求。如,儿童牙膏应当以“注意”或者“警告”作为引导语,在销售包装可视面标注“应当在成人监护下使用”“不能食用”“谨防吞咽”等相关警示用语;添加氟化物的儿童牙膏应当标注单次使用限量。
添加新原料的产品也一直是监管的重点,无论是化妆品还是牙膏。“新原料既没有基础数据,又没有三年企业使用数据,相当棘手,就只能踏实做毒理,对于企业而言意味着更高的备案成本。”郭晓峰认为,对于具备化妆品备案经验的企业而言,应该能快速上手,对于未涉足化妆品领域的牙膏企业,可能存在压力。
值得注意的是,根据《规定》,上述三类牙膏,即便生产企业已取得所在国家(地区)政府主管部门出具的生产质量管理体系相关资质认证,且产品安全风险评估结果能够充分确认产品安全性的,仍需提交该产品的口腔粘膜刺激试验报告。

截自《牙膏备案资料管理规定》
郭晓峰提醒道,牙膏有一定特殊性,其作用于口腔黏膜,和皮肤有较大区别。《规定》指出,上述三类牙膏需提交口腔黏膜刺激试验报告,企业可选择《化妆品安全技术规范》收录的试验方法,也可参考相关口腔医疗器械试验方法,“但试验方法如何取舍,如何科学借鉴,是检测机构和品牌需重点考虑的”。
在他看来,清洁功效牙膏和上述三类牙膏在备案要求上区别很大,关乎企业备案时间和资金成本,“这需要牙膏企业在推新品前先做好相关调研”。
02 安评报告“松绑”
牙膏是健康相关产品,产品上市前,备案人应当通过充分的分析评估和技术评价确认产品安全性。
《规定》第三十条明确指出,备案人应当参照《化妆品安全评估技术导则》的有关原则和要求,结合牙膏产品实际情况,科学合理开展产品安全评估,并提交产品安全评估报告。安全评估的重点和难点在于对配方中各成分的评估,考虑到部分牙膏原料的基础数据尚不完善,无法进行安全评估,《规定》允许备案人通过提供成分3年以上安全使用历史客观证明材料等途径,完善产品安全评估资料。

截自《牙膏备案资料管理规定》
“利好企业。”对于这一规定,行业拍手称赞。有业内人士表示,相较于化妆品的安评要求更为人性化,比如对没有数据的原料,提供3年使用证明即可,“如果有化妆品安评经验的企业,足以解决牙膏安评问题”。
某业内资深法规人士指出,牙膏与化妆品既有共性,又有其自身特点,因此针对化妆品的要求存在不适用于牙膏的情况。显然,监管层充分听取了行业及企业代表的建议,在确保产品安全、科学宣称为原则的基础上,努力减少对行业的影响和冲击。
不过,郭晓峰提醒,虽然在牙膏领域,安全评价和检测相对于化妆品有一定宽容,但对于牙膏品类而言,仍然是新事物,企业需要重视,抓紧建立安评框架,尤其是检测机构。
微谱化妆品事业部技术经理黄欣悦亦表示,关于检验检测的要求是比较需要注意的,以往企业按照产品标准测试项目范围比较小,《规定》实施后需要注意的测试项目除了以往常规的理化微生物,还需要进行毒理学试验和功效评价。而配方的设计、原料的选用也需要考虑未来安评的相关要求,做更加细致的前期排查工作,“产品备案上市前的准备周期需要相应延长”。
03 一大批牙膏产品面临下架
由于历史原因,我国牙膏监管立法相对滞后,长期以来牙膏监管有待加强。而随着《办法》《规定》的实施,一直处“灰色”地带的牙膏,将正式步入严监管时代。
有行业人士表示,新规实施后,有两类牙膏产品将受到冲击:
其一,虚假宣称、夸大宣称的牙膏产品。随着牙膏市场竞争愈发激烈,在清洁功效外,牙膏产品又延伸出美白、抗过敏等多种功效,甚至衍生出抗糖、消炎、去火、可吞咽等诸多宣称乱象。而根据新规,牙膏的功效宣称应当有充分的科学依据。牙膏备案人应当在备案信息服务平台公布功效宣称所依据的文献资料、研究数据或者产品功效评价资料的摘要,接受社会监督。
“牙膏的功效宣称要言之有物、证据确凿,虚假宣称的乱象有望被遏制。”上述业内资深法规人士如是表示。
典型如,上海聚力传媒技术有限公司在其自营网站投放的牙膏广告,含有“去糖化物,99%减菌”“防龋齿”等广告用语,但其无法提供牙膏含有防龋齿成分和功效评价证明材料,被罚款约1.37万元。
其二,以“械字号”和“消字号”等类目浑水摸鱼的牙膏产品。《办法》明确了牙膏的定义,把牙粉、漱口水和一些消字号、械字号的产品排除在牙膏的定义之外。但目前市场上不乏一些宣称具有“抗幽门螺杆菌”“通过抗幽门螺杆菌去除口臭”等功效的产品,冠以“牙膏”的名义进行售卖,这些产品很多不是真正意义上的牙膏,其功效也超出了牙膏本身的宣传范畴。
“目前牙膏领域管理办法和备案资料规定都已经出来,牙膏品类的属性也有明确要求,很难再以械字号和消字号等类目混淆。如果企业有上述产品,不依据牙膏法规进行备案管理,将面临法规风险。”某企业负责人如是表示。
事实上,已有浑水摸鱼被罚者。如,广东健医师生物科技有限公司在1688平台网店中将产品品名为“健医师生物溶菌型医用冷敷凝胶”“健医师蜂毒清火型医用冷敷凝胶”的两款医疗器械,宣称为具有治疗功效的牙膏,在产品宣传详细页宣称具备“减少细菌滋生”“防止牙菌斑形成”“深彻清洁、轻渍去垢、清新口腔、严清护龈”等功效,但无法提供相关证明材料,被罚款21万元。
04 一波牙膏产品完成备案
“新规参照化妆品备案管理,进一步规范牙膏市场,将打击杂牌和虚假宣称,利好规范的企业。”新锐口腔护理品牌冰泉创始人程英奇透露,公司已着手根据新规进行备案,根据新要求查漏补缺,规范原料成分、功效验证以及产品宣称。
“企业按新规要求进行牙膏备案面临的难题,和当初化妆品企业遇到的难题有很高的相似性。”黄欣悦举例,对于系统的账户权限开通,需提交多项资料,境外的备案人还需要提交授权书及其公证书等额外资料;而有些表单的填写还对备案人本身的体系建设有要求,比如备案人不良反应监测和评价体系概述。更难的是产品安全评估资料,牵扯到对于原料商相关资料的获取及内容确认,配方的原料安评支撑依据的查找及选取等。
而为了让新规“软着陆”,监管层降低了老产品的备案门槛。
9月25日,国家药品监督管理局发布关于贯彻落实牙膏监管法规和简化已上市牙膏备案资料要求等有关事宜的公告(2023年第124号),简化已上市牙膏备案的相关资料要求。具体而言,对于已经具有一定的生产、销售和使用历史,且未发生质量安全相关事件的产品,牙膏备案人可以在2023年10月1日~11月30日,提交简化备案材料,对已上市的牙膏产品进行备案。在2025年12月1日前,按照相关法规要求整理完整产品备案资料,并通过备案平台上传并公布产品功效宣称依据的摘要即可。
“公告明确了过渡期和过渡方案,相当于是给企业吃下了一颗‘定心丸’。”恩特科技联合创始人方维亚解释,12月1日牙膏备案新规就要实施了,但对于牙膏企业而言,备案要求是个从0~1的过程,考虑到企业在短期内全面满足要求很难,设置过渡期,无疑给企业留出了喘息调整的机会。
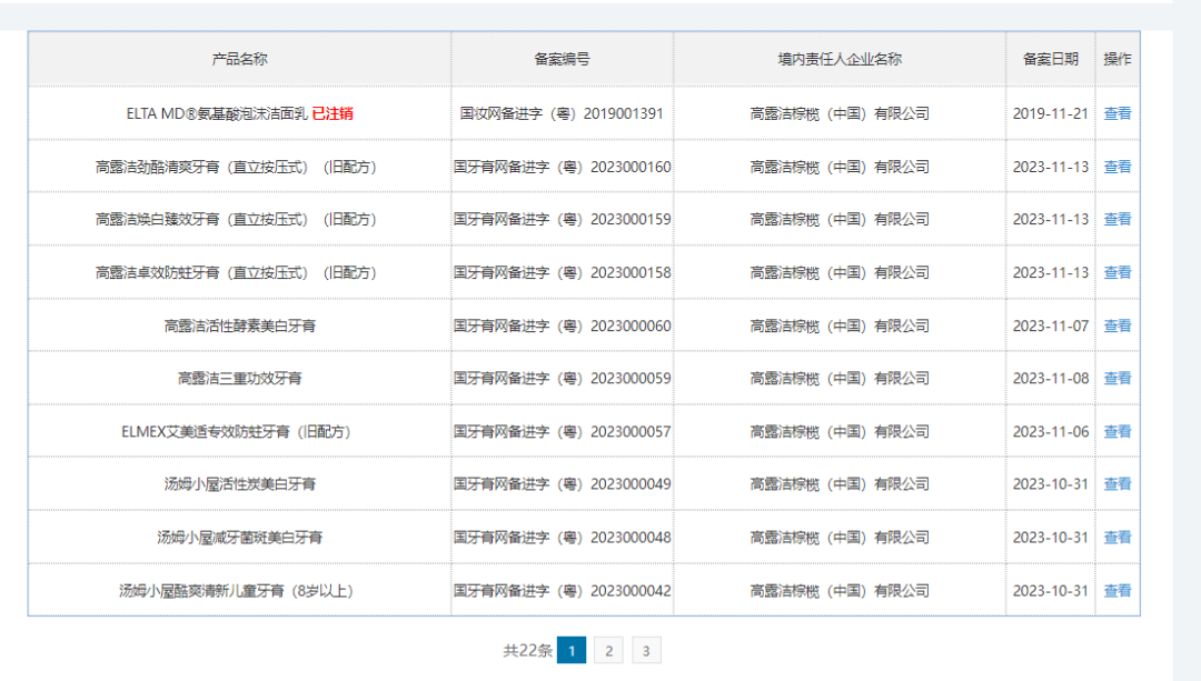
《化妆品观察》查询发现,已有牙膏产品完成了备案。国家药监局备案信息平台显示,高露洁棕榄(中国)有限公司已有约20款牙膏产品完成备案,例如,“ELMEX艾美适专效抗敏牙膏”已于10月24日完成备案,备案信息页面公示了备案人、实际生产企业的具体信息;产品的名称、配方、销售包装标签图片等基本信息,但功效宣称尚未上传。显然,这是按照公告要求提交简化资料完成备案的已上市产品。

截自国家药监局备案信息平台
某牙膏企业工程师透露,目前药监局的备案信息查询平台仅有进口普通化妆品备案信息一栏含有牙膏品类,虽然目前无法批量查询有多少牙膏产品完成备案,但相信接下来会有批量牙膏产品完成备案,“牙膏企业正在走一条化妆品企业走过的路,经历阵痛后将会跟上新规的步伐,整个牙膏行业也将步入优胜劣汰的合规化发展之路”。
黄欣悦亦建议,“牙膏备案相关法规的征求意见稿其实发布比较早,很多牙膏企业已经在心理上有了一定的准备。企业只需要关注好过渡期政策,尽快准备资料做好系统申报即可。对于新的产品,应在配方及产品概念设计之初做好合规工作。



评论