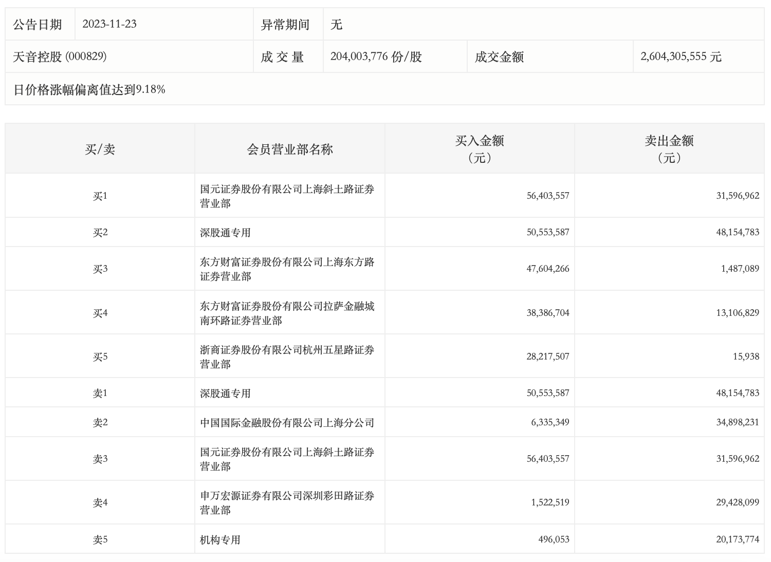
11月23日,天音控股今日涨停,全天换手率达19.92%,振幅达9.36%。龙虎榜数据显示,营业部席位合计净买入5065.78万元。其中,机构买入49.61万元,卖出2017.38万元,合计净卖出1967.77万元。此外,国元证券上海斜土路证券营业部、深股通专用分别买入5640.36万元、5055.36万元;深股通专用、中国国际金融上海分公司分别卖出4815.48万元、3489.82万元。

来源:界面新闻
11月23日,天音控股今日涨停,全天换手率达19.92%,振幅达9.36%。龙虎榜数据显示,营业部席位合计净买入5065.78万元。其中,机构买入49.61万元,卖出2017.38万元,合计净卖出1967.77万元。此外,国元证券上海斜土路证券营业部、深股通专用分别买入5640.36万元、5055.36万元;深股通专用、中国国际金融上海分公司分别卖出4815.48万元、3489.82万元。

评论