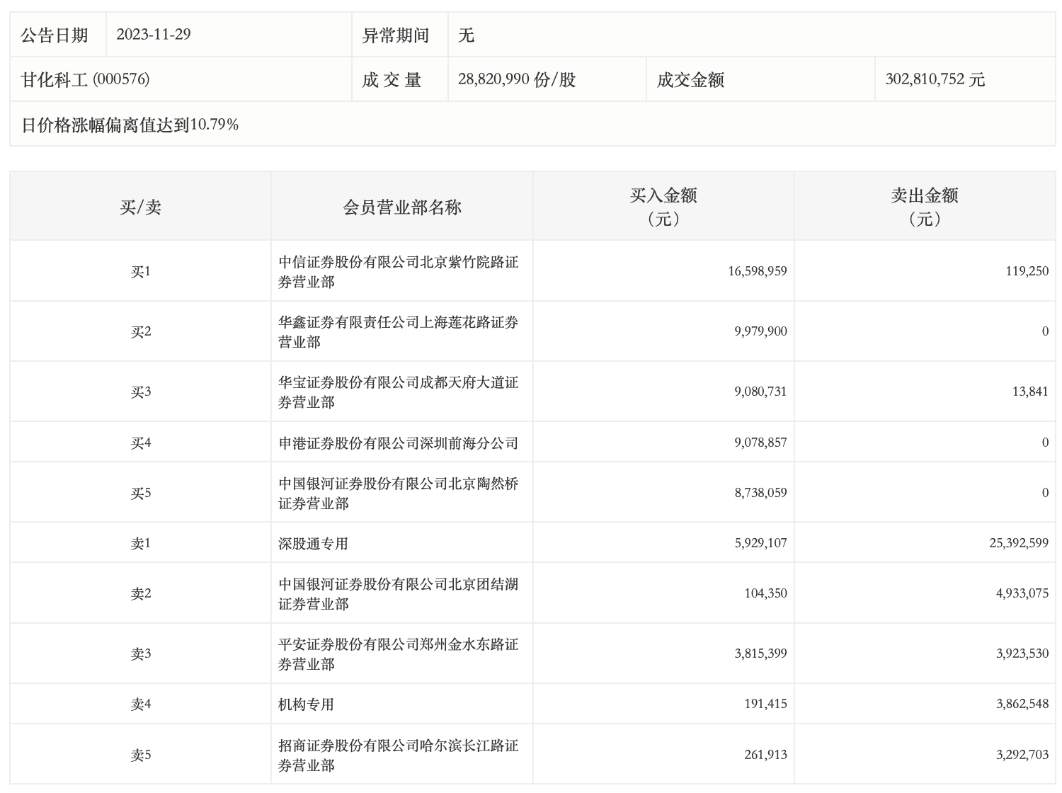
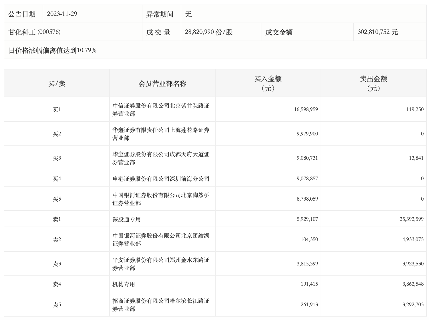
11月29日,甘化科工今日涨停,全天换手率达6.7%,振幅达10.94%。龙虎榜数据显示,营业部席位合计净买入2224.11万元。其中,机构买入19.14万元,卖出386.25万元,合计净卖出367.11万元。此外,中信证券北京紫竹院路证券营业部、华鑫证券上海莲花路证券营业部分别买入1659.90万元、997.99万元;深股通专用、中国银河证券北京团结湖证券营业部分别卖出2539.26万元、493.31万元。

来源:界面新闻
11月29日,甘化科工今日涨停,全天换手率达6.7%,振幅达10.94%。龙虎榜数据显示,营业部席位合计净买入2224.11万元。其中,机构买入19.14万元,卖出386.25万元,合计净卖出367.11万元。此外,中信证券北京紫竹院路证券营业部、华鑫证券上海莲花路证券营业部分别买入1659.90万元、997.99万元;深股通专用、中国银河证券北京团结湖证券营业部分别卖出2539.26万元、493.31万元。

评论