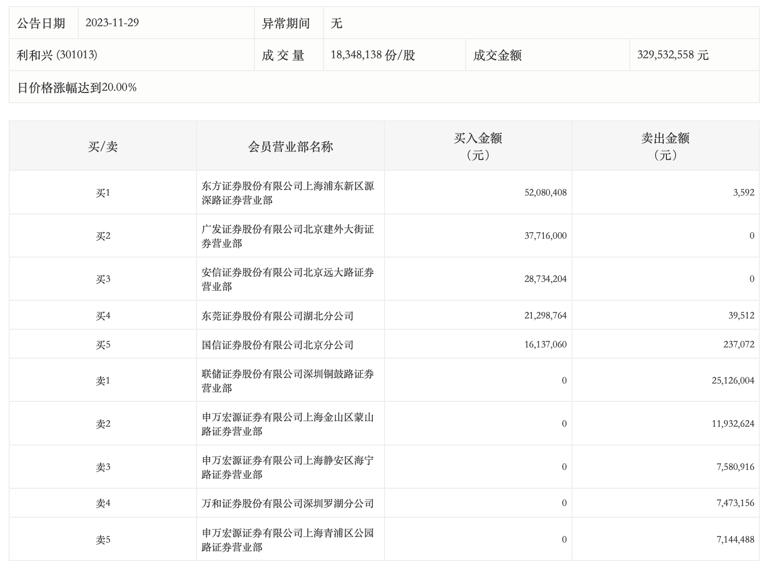
11月29日,利和兴今日涨停,全天换手率达11.03%,振幅达0%。龙虎榜数据显示,营业部席位合计净买入9642.91万元。其中,东方证券上海浦东新区源深路证券营业部、广发证券北京建外大街证券营业部分别买入5208.04万元、3771.60万元;联储证券深圳铜鼓路证券营业部、申万宏源证券有限公司上海金山区蒙山路证券营业部分别卖出2512.60万元、1193.26万元。

来源:界面新闻
11月29日,利和兴今日涨停,全天换手率达11.03%,振幅达0%。龙虎榜数据显示,营业部席位合计净买入9642.91万元。其中,东方证券上海浦东新区源深路证券营业部、广发证券北京建外大街证券营业部分别买入5208.04万元、3771.60万元;联储证券深圳铜鼓路证券营业部、申万宏源证券有限公司上海金山区蒙山路证券营业部分别卖出2512.60万元、1193.26万元。

评论