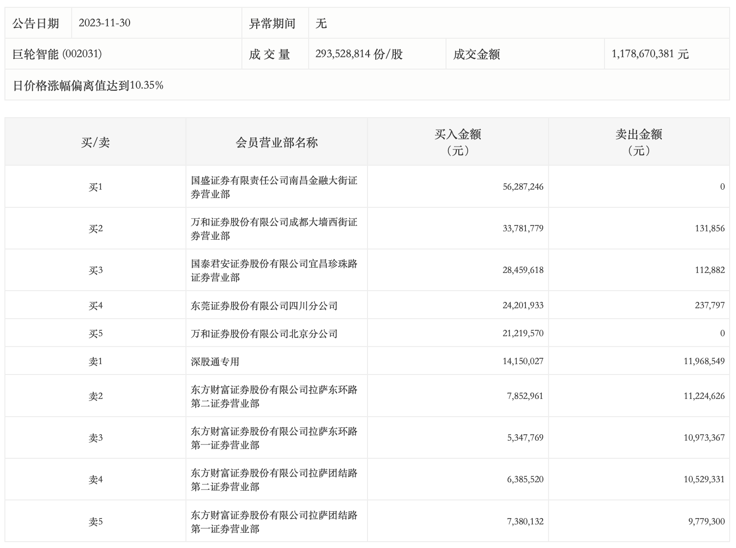
11月30日,巨轮智能今日涨停,全天换手率达14.89%,振幅达3.29%。龙虎榜数据显示,营业部席位合计净买入1.5亿元。其中,国盛证券南昌金融大街证券营业部、万和证券成都大墙西街证券营业部分别买入5628.72万元、3378.18万元;深股通专用、东方财富证券拉萨东环路第二证券营业部分别卖出1196.85万元、1122.46万元。

来源:界面新闻
11月30日,巨轮智能今日涨停,全天换手率达14.89%,振幅达3.29%。龙虎榜数据显示,营业部席位合计净买入1.5亿元。其中,国盛证券南昌金融大街证券营业部、万和证券成都大墙西街证券营业部分别买入5628.72万元、3378.18万元;深股通专用、东方财富证券拉萨东环路第二证券营业部分别卖出1196.85万元、1122.46万元。

评论