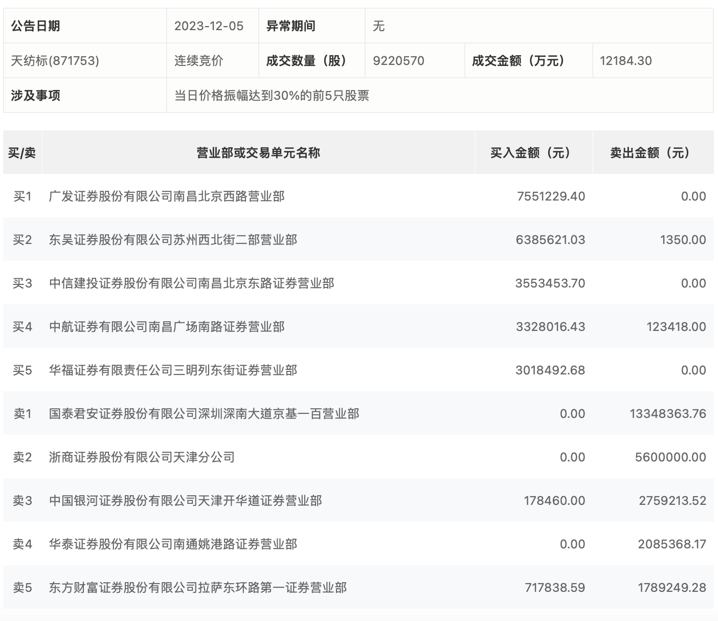
12月5日,天纺标今日涨30%,全天换手率达43.2%,振幅达38.64%。龙虎榜数据显示,营业部席位合计净卖出97.39万元。其中,广发证券南昌北京西路营业部、东吴证券苏州西北街二部营业部分别买入755.12万元、638.56万元;国泰君安证券深圳深南大道京基一百营业部、浙商证券天津分公司分别卖出1334.84万元、560.00万元。

来源:界面新闻
12月5日,天纺标今日涨30%,全天换手率达43.2%,振幅达38.64%。龙虎榜数据显示,营业部席位合计净卖出97.39万元。其中,广发证券南昌北京西路营业部、东吴证券苏州西北街二部营业部分别买入755.12万元、638.56万元;国泰君安证券深圳深南大道京基一百营业部、浙商证券天津分公司分别卖出1334.84万元、560.00万元。

评论