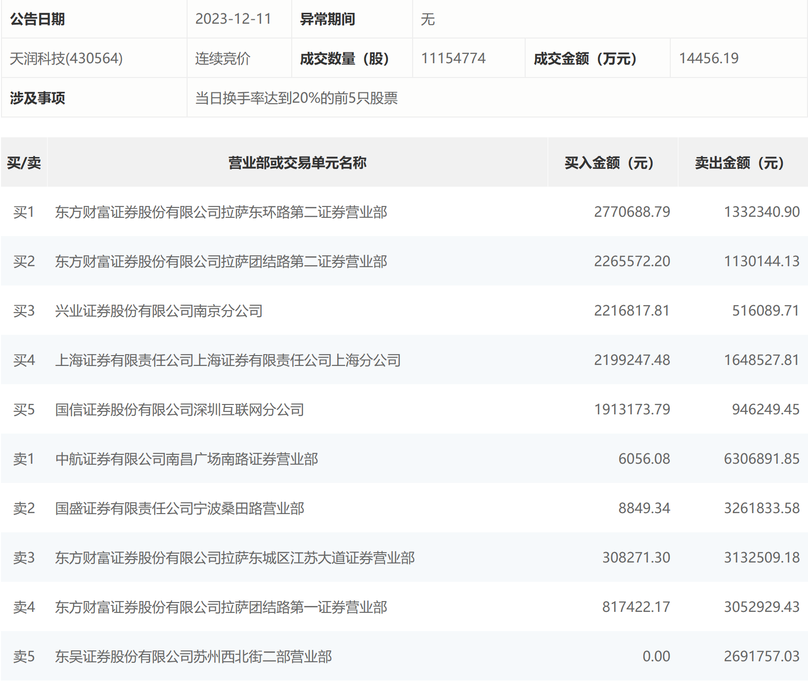
12月11日,天润科技今日跌16.13%,全天换手率达55.23%,振幅达18.67%。龙虎榜数据显示,营业部席位合计净卖出1151.32万元。其中,中航证券有限公司南昌广场南路证券营业部、国盛证券宁波桑田路营业部分别卖出630.69万元、326.18万元;东方财富证券拉萨东环路第二证券营业部、东方财富证券拉萨团结路第二证券营业部分别买入277.07万元、226.56万元。

来源:界面新闻
12月11日,天润科技今日跌16.13%,全天换手率达55.23%,振幅达18.67%。龙虎榜数据显示,营业部席位合计净卖出1151.32万元。其中,中航证券有限公司南昌广场南路证券营业部、国盛证券宁波桑田路营业部分别卖出630.69万元、326.18万元;东方财富证券拉萨东环路第二证券营业部、东方财富证券拉萨团结路第二证券营业部分别买入277.07万元、226.56万元。

评论