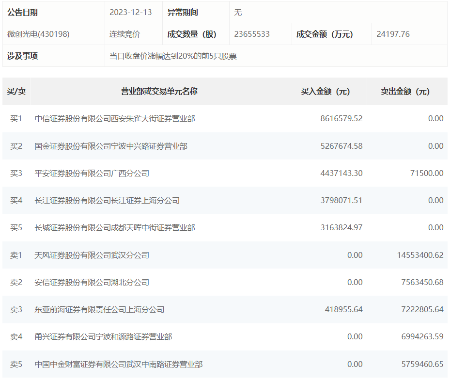
微创光电12月13日涨停,龙虎榜数据显示,上榜营业部席位全天成交6786.71万元,占当日总成交金额比例为28.05%。其中,买入金额为2570.22万元,卖出金额为4216.49万元,合计净卖出1646.26万元。
具体来看,知名游资现身龙虎榜,方新侠(中信证券西安朱雀大街证券营业部)、国金证券宁波中兴路证券营业部分别买入861.66万元、526.77万元;天风证券武汉分公司、安信证券湖北分公司分别卖出1455.34万元、756.35万元。

来源:界面新闻
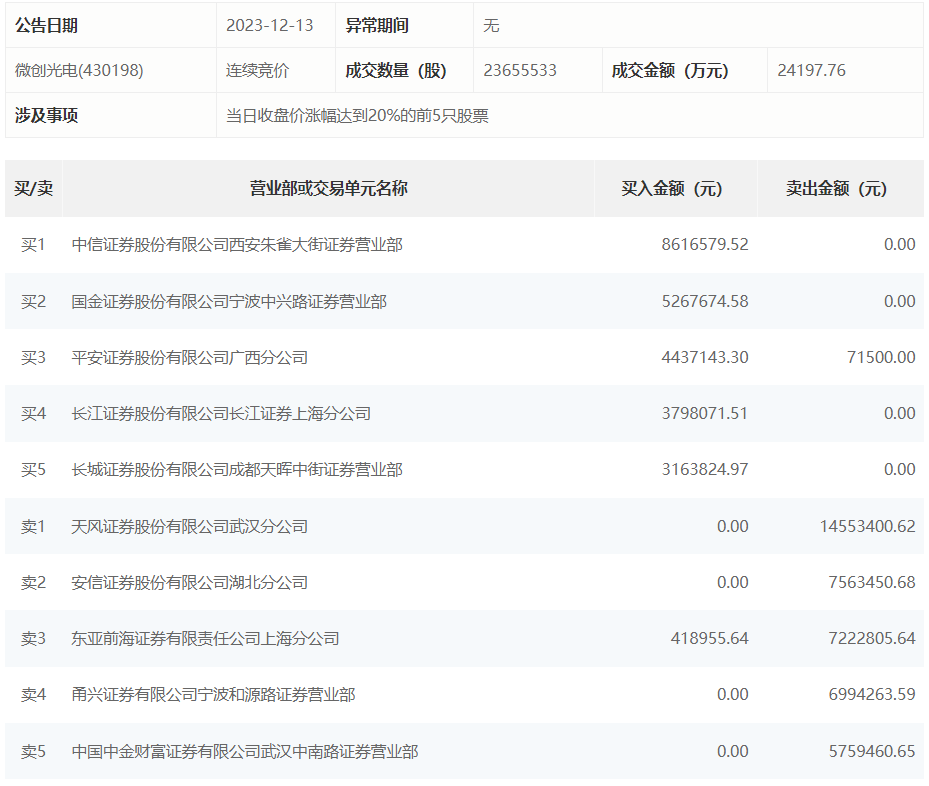
微创光电12月13日涨停,龙虎榜数据显示,上榜营业部席位全天成交6786.71万元,占当日总成交金额比例为28.05%。其中,买入金额为2570.22万元,卖出金额为4216.49万元,合计净卖出1646.26万元。
具体来看,知名游资现身龙虎榜,方新侠(中信证券西安朱雀大街证券营业部)、国金证券宁波中兴路证券营业部分别买入861.66万元、526.77万元;天风证券武汉分公司、安信证券湖北分公司分别卖出1455.34万元、756.35万元。

评论