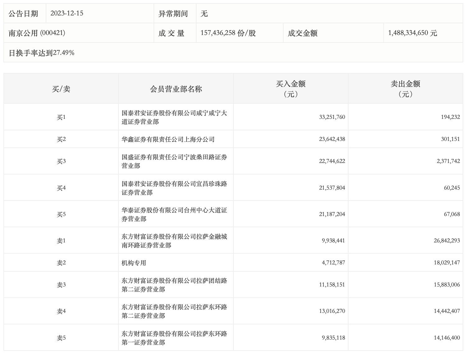
12月15日,南京公用今日涨停,龙虎榜数据显示,上榜营业部席位全天成交2.63亿元,占当日总成交金额比例为17.7%。其中,买入金额为1.71亿元,卖出金额为9233.77万元,合计净买入7868.69万元。
具体来看,机构买入471.28万元,卖出1802.91万元,合计净卖出1331.64万元。此外,知名游资现身龙虎榜,方新侠(华泰证券股份有限公司台州中心大道证券营业部)净买入2112.01万元、宁波桑田路(国盛证券有限责任公司宁波桑田路证券营业部)净买入2037.29万元。此外,国泰君安证券咸宁咸宁大道证券营业部、华鑫证券上海分公司分别买入3325.18万元、2364.24万元;东方财富证券拉萨金融城南环路证券营业部、东方财富证券拉萨团结路第二证券营业部分别卖出2684.23万元、1588.30万元。

评论