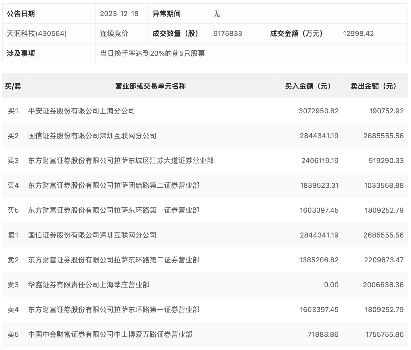
12月18日,天润科技今日涨12.15%,全天换手率达45.43%,振幅达21.76%。龙虎榜数据显示,营业部席位合计净买入101.29万元。其中,平安证券上海分公司、国信证券深圳互联网分公司分别买入307.30万元、284.43万元;国信证券深圳互联网分公司、东方财富证券拉萨东环路第二证券营业部分别卖出268.56万元、220.97万元。

来源:界面新闻
12月18日,天润科技今日涨12.15%,全天换手率达45.43%,振幅达21.76%。龙虎榜数据显示,营业部席位合计净买入101.29万元。其中,平安证券上海分公司、国信证券深圳互联网分公司分别买入307.30万元、284.43万元;国信证券深圳互联网分公司、东方财富证券拉萨东环路第二证券营业部分别卖出268.56万元、220.97万元。

评论