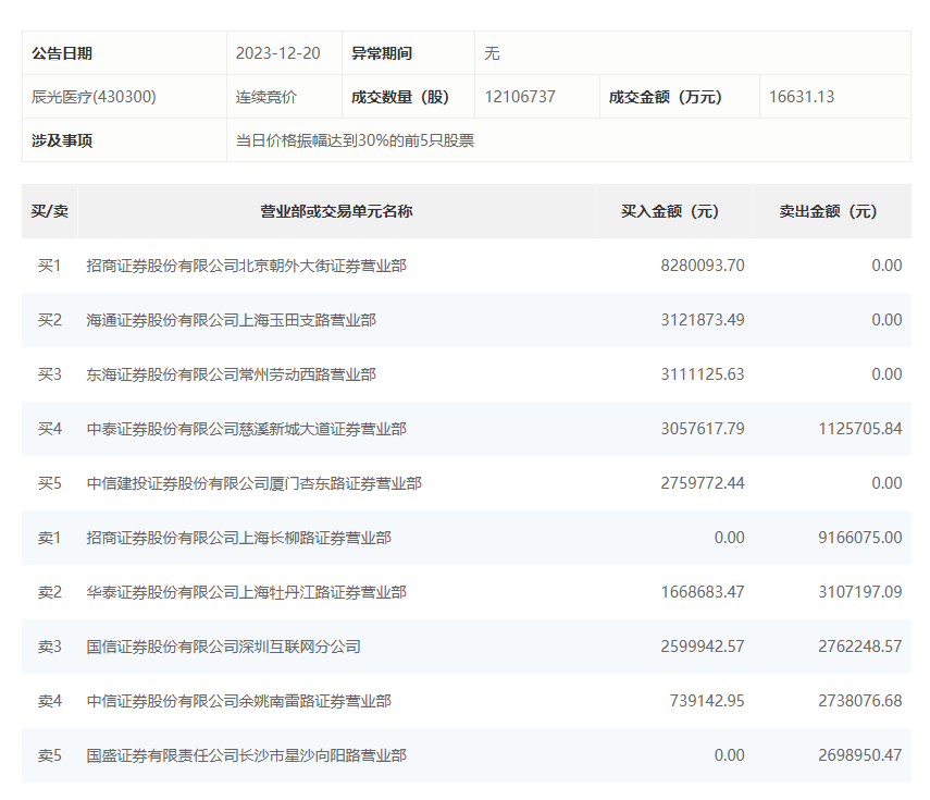
12月20日,辰光医疗今日涨17.68%,全天换手率达23.18%,振幅达31.06%。龙虎榜数据显示,营业部席位合计净买入374.0万元。其中,招商证券北京朝外大街证券营业部、海通证券上海玉田支路营业部分别买入828.01万元、312.19万元;招商证券上海长柳路证券营业部、华泰证券上海牡丹江路证券营业部分别卖出916.61万元、310.72万元。

来源:界面新闻
12月20日,辰光医疗今日涨17.68%,全天换手率达23.18%,振幅达31.06%。龙虎榜数据显示,营业部席位合计净买入374.0万元。其中,招商证券北京朝外大街证券营业部、海通证券上海玉田支路营业部分别买入828.01万元、312.19万元;招商证券上海长柳路证券营业部、华泰证券上海牡丹江路证券营业部分别卖出916.61万元、310.72万元。

评论