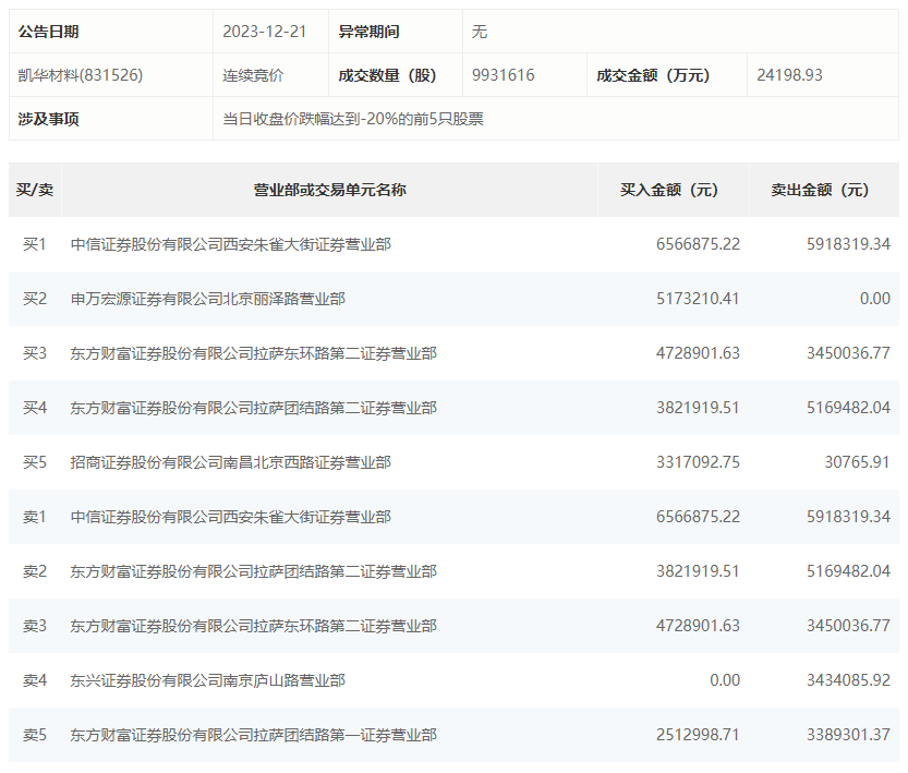
12月21日,凯华材料今日跌22.91%,龙虎榜数据显示,上榜营业部席位全天成交4751.3万元,占当日总成交金额比例为19.63%。其中,买入金额为2612.1万元,卖出金额为2139.2万元,合计净买入472.9万元。
具体来看,知名游资现身龙虎榜,方新侠(中信证券西安朱雀大街证券营业部)、东方财富证券拉萨团结路第二证券营业部分别卖出591.83万元、516.95万元;方新侠(中信证券西安朱雀大街证券营业部)、申万宏源证券有限公司北京丽泽路营业部分别买入656.69万元、517.32万元。

来源:界面新闻
12月21日,凯华材料今日跌22.91%,龙虎榜数据显示,上榜营业部席位全天成交4751.3万元,占当日总成交金额比例为19.63%。其中,买入金额为2612.1万元,卖出金额为2139.2万元,合计净买入472.9万元。
具体来看,知名游资现身龙虎榜,方新侠(中信证券西安朱雀大街证券营业部)、东方财富证券拉萨团结路第二证券营业部分别卖出591.83万元、516.95万元;方新侠(中信证券西安朱雀大街证券营业部)、申万宏源证券有限公司北京丽泽路营业部分别买入656.69万元、517.32万元。

评论