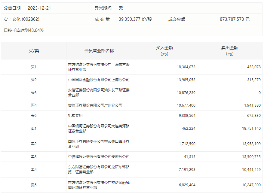
12月21日,实丰文化今日跌停,龙虎榜数据显示,上榜营业部席位全天成交1.5亿元,占当日总成交金额比例为17.13%。其中,买入金额为7938.82万元,卖出金额为7026.12万元,合计净买入912.69万元。
具体来看,机构买入930.86万元,卖出67.28万元,合计净买入863.57万元。此外,知名游资现身龙虎榜,中国银河证券大连黄河路证券营业部、宁波桑田路(国盛证券宁波桑田路证券营业部)分别卖出1875.11万元、1395.81万元;东方财富证券上海东方路证券营业部、中国国际金融上海分公司分别买入1830.41万元、1398.51万元。

评论