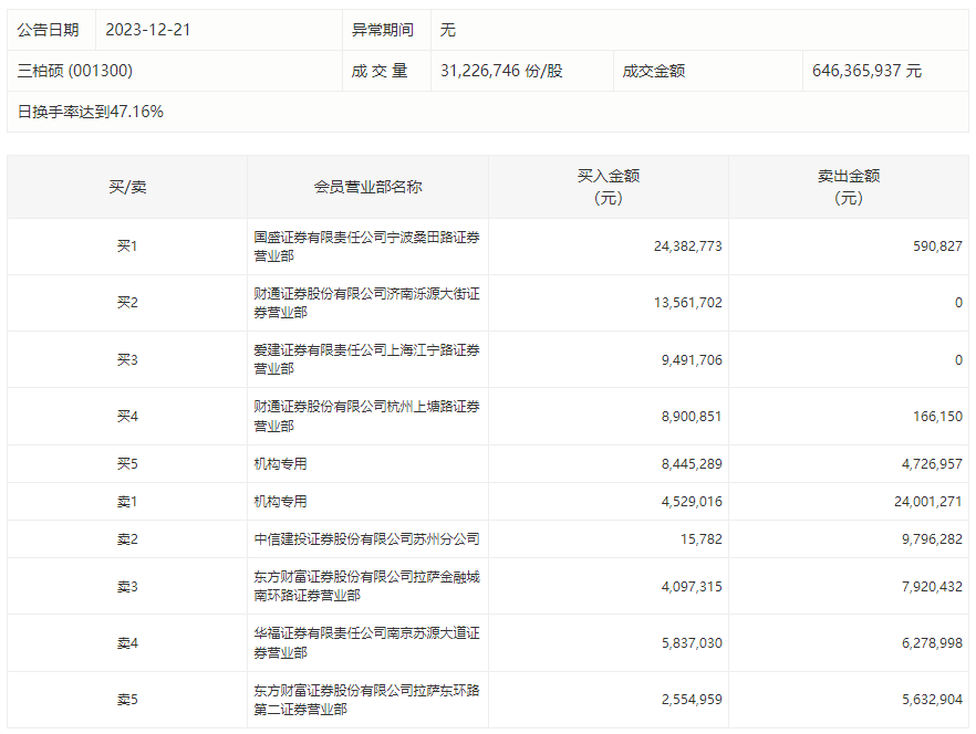
12月21日,三柏硕今日涨停,龙虎榜数据显示,上榜营业部席位全天成交1.41亿元,占当日总成交金额比例为21.8%。其中,买入金额为8181.64万元,卖出金额为5911.38万元,合计净买入2270.26万元。
具体来看,机构买入1297.43万元,卖出2872.82万元,合计净卖出1575.39万元。此外,知名游资现身龙虎榜,宁波桑田路(国盛证券宁波桑田路证券营业部)、财通证券济南泺源大街证券营业部分别买入2438.28万元、1356.17万元;中信建投证券苏州分公司、东方财富证券拉萨金融城南环路证券营业部分别卖出979.63万元、792.04万元。

评论