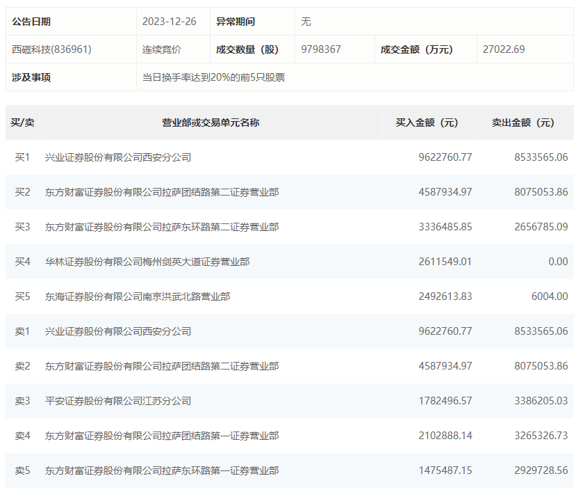
12月26日,西磁科技今日涨24.32%,全天换手率达60.86%,振幅达29.4%。龙虎榜数据显示,营业部席位合计净卖出84.05万元。其中,兴业证券西安分公司、东方财富证券拉萨团结路第二证券营业部分别买入962.28万元、458.79万元;兴业证券西安分公司、东方财富证券拉萨团结路第二证券营业部分别卖出853.36万元、807.51万元。

来源:界面新闻
12月26日,西磁科技今日涨24.32%,全天换手率达60.86%,振幅达29.4%。龙虎榜数据显示,营业部席位合计净卖出84.05万元。其中,兴业证券西安分公司、东方财富证券拉萨团结路第二证券营业部分别买入962.28万元、458.79万元;兴业证券西安分公司、东方财富证券拉萨团结路第二证券营业部分别卖出853.36万元、807.51万元。

评论