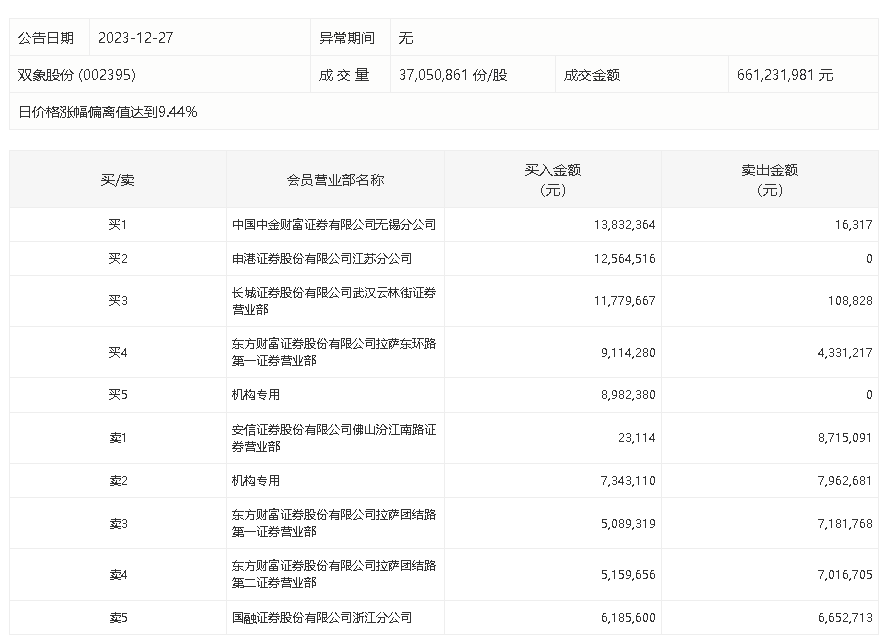
12月27日,双象股份今日涨停,全天换手率达13.81%,振幅达6.92%。龙虎榜数据显示,营业部席位合计净买入3808.87万元。其中,机构买入1632.55万元,卖出796.27万元,合计净买入836.28万元。此外,中国中金财富证券有限公司无锡分公司、申港证券江苏分公司分别买入1383.24万元、1256.45万元;安信证券佛山汾江南路证券营业部、东方财富证券拉萨团结路第一证券营业部分别卖出871.51万元、718.18万元。

来源:界面新闻
12月27日,双象股份今日涨停,全天换手率达13.81%,振幅达6.92%。龙虎榜数据显示,营业部席位合计净买入3808.87万元。其中,机构买入1632.55万元,卖出796.27万元,合计净买入836.28万元。此外,中国中金财富证券有限公司无锡分公司、申港证券江苏分公司分别买入1383.24万元、1256.45万元;安信证券佛山汾江南路证券营业部、东方财富证券拉萨团结路第一证券营业部分别卖出871.51万元、718.18万元。

评论