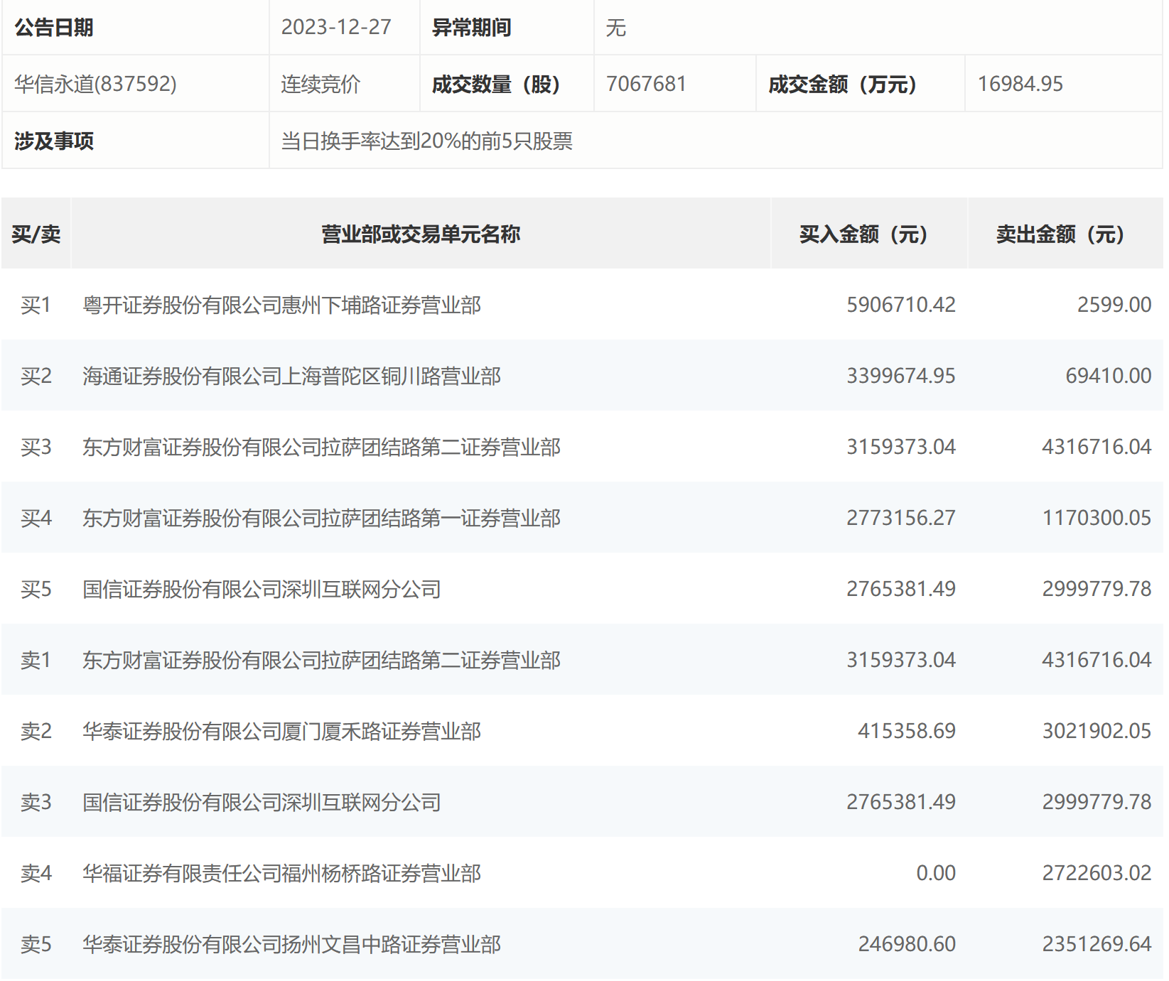
12月27日,华信永道今日涨9.06%,全天换手率达47.33%,振幅达18.66%。龙虎榜数据显示,营业部席位合计净买入201.21万元。其中,粤开证券惠州下埔路证券营业部、海通证券上海普陀区铜川路营业部分别买入590.67万元、339.97万元;东方财富证券拉萨团结路第二证券营业部、华泰证券厦门厦禾路证券营业部分别卖出431.67万元、302.19万元。

来源:界面新闻
12月27日,华信永道今日涨9.06%,全天换手率达47.33%,振幅达18.66%。龙虎榜数据显示,营业部席位合计净买入201.21万元。其中,粤开证券惠州下埔路证券营业部、海通证券上海普陀区铜川路营业部分别买入590.67万元、339.97万元;东方财富证券拉萨团结路第二证券营业部、华泰证券厦门厦禾路证券营业部分别卖出431.67万元、302.19万元。

评论