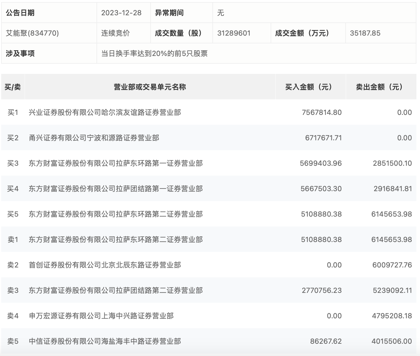
12月27日,艾能聚今日涨25.31%,全天换手率达47.54%,振幅达31.49%。龙虎榜数据显示,营业部席位合计净买入164.48万元。其中,兴业证券哈尔滨友谊路证券营业部、甬兴证券有限公司宁波和源路证券营业部分别买入756.78万元、671.77万元;东方财富证券拉萨东环路第二证券营业部、首创证券北京北辰东路证券营业部分别卖出614.57万元、600.97万元。

来源:界面新闻
12月27日,艾能聚今日涨25.31%,全天换手率达47.54%,振幅达31.49%。龙虎榜数据显示,营业部席位合计净买入164.48万元。其中,兴业证券哈尔滨友谊路证券营业部、甬兴证券有限公司宁波和源路证券营业部分别买入756.78万元、671.77万元;东方财富证券拉萨东环路第二证券营业部、首创证券北京北辰东路证券营业部分别卖出614.57万元、600.97万元。

评论