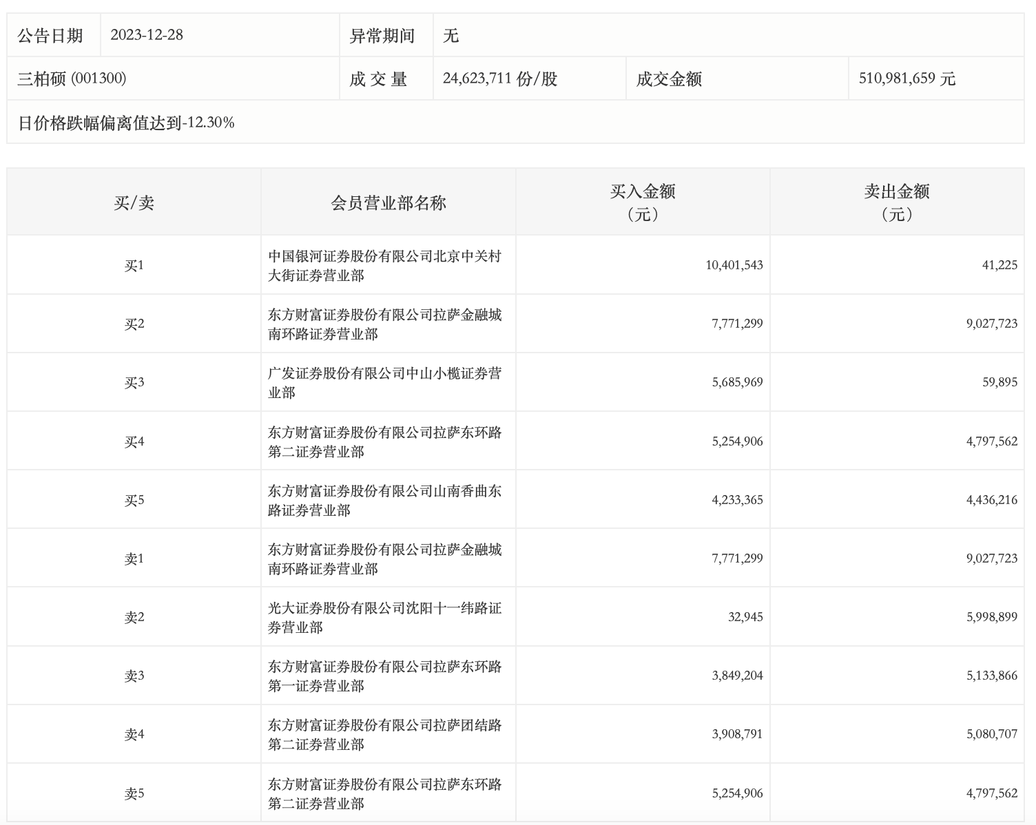
12月28日,三柏硕今日跌停,全天换手率达37.19%,振幅达4.21%。龙虎榜数据显示,营业部席位合计净买入656.19万元。其中,东方财富证券拉萨金融城南环路证券营业部、光大证券沈阳十一纬路证券营业部分别卖出902.77万元、599.89万元;中国银河证券北京中关村大街证券营业部、东方财富证券拉萨金融城南环路证券营业部分别买入1040.15万元、777.13万元。

来源:界面新闻
12月28日,三柏硕今日跌停,全天换手率达37.19%,振幅达4.21%。龙虎榜数据显示,营业部席位合计净买入656.19万元。其中,东方财富证券拉萨金融城南环路证券营业部、光大证券沈阳十一纬路证券营业部分别卖出902.77万元、599.89万元;中国银河证券北京中关村大街证券营业部、东方财富证券拉萨金融城南环路证券营业部分别买入1040.15万元、777.13万元。

评论