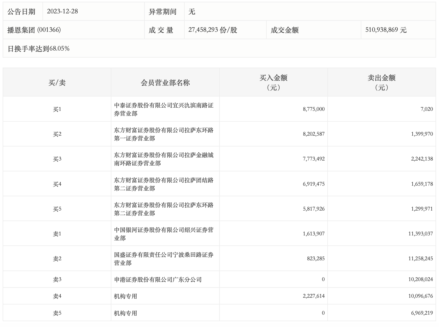
12月28日,播恩集团今日跌停,龙虎榜数据显示,上榜营业部席位全天成交9868.68万元,占当日总成交金额比例为19.31%。其中,买入金额为4215.33万元,卖出金额为5653.35万元,合计净卖出1438.02万元。
具体来看,机构买入222.76万元,卖出1706.59万元,合计净卖出1483.83万元。此外,知名游资现身龙虎榜,赵老哥(中国银河证券绍兴证券营业部)、宁波桑田路(国盛证券宁波桑田路证券营业部)分别卖出1139.30万元、1125.82万元;中泰证券宜兴氿滨南路证券营业部、东方财富证券拉萨东环路第一证券营业部分别买入877.50万元、820.26万元。

评论