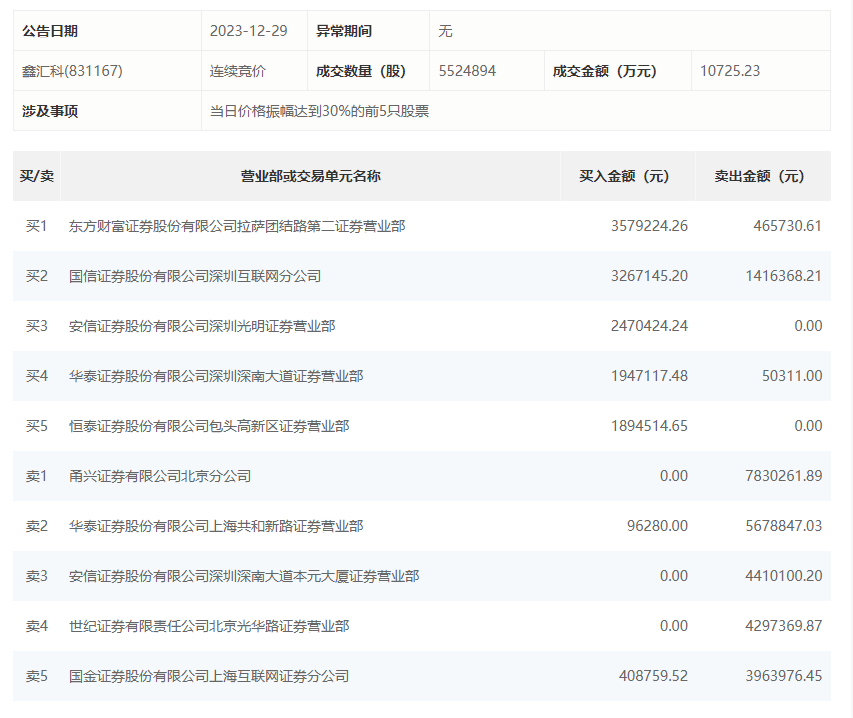
12月29日,鑫汇科今日涨17.7%,全天换手率达27.33%,振幅达30.63%。龙虎榜数据显示,营业部席位合计净卖出1444.95万元。其中,东方财富证券拉萨团结路第二证券营业部、国信证券深圳互联网分公司分别买入357.92万元、326.71万元;甬兴证券有限公司北京分公司、华泰证券上海共和新路证券营业部分别卖出783.03万元、567.88万元。

来源:界面新闻
12月29日,鑫汇科今日涨17.7%,全天换手率达27.33%,振幅达30.63%。龙虎榜数据显示,营业部席位合计净卖出1444.95万元。其中,东方财富证券拉萨团结路第二证券营业部、国信证券深圳互联网分公司分别买入357.92万元、326.71万元;甬兴证券有限公司北京分公司、华泰证券上海共和新路证券营业部分别卖出783.03万元、567.88万元。

评论