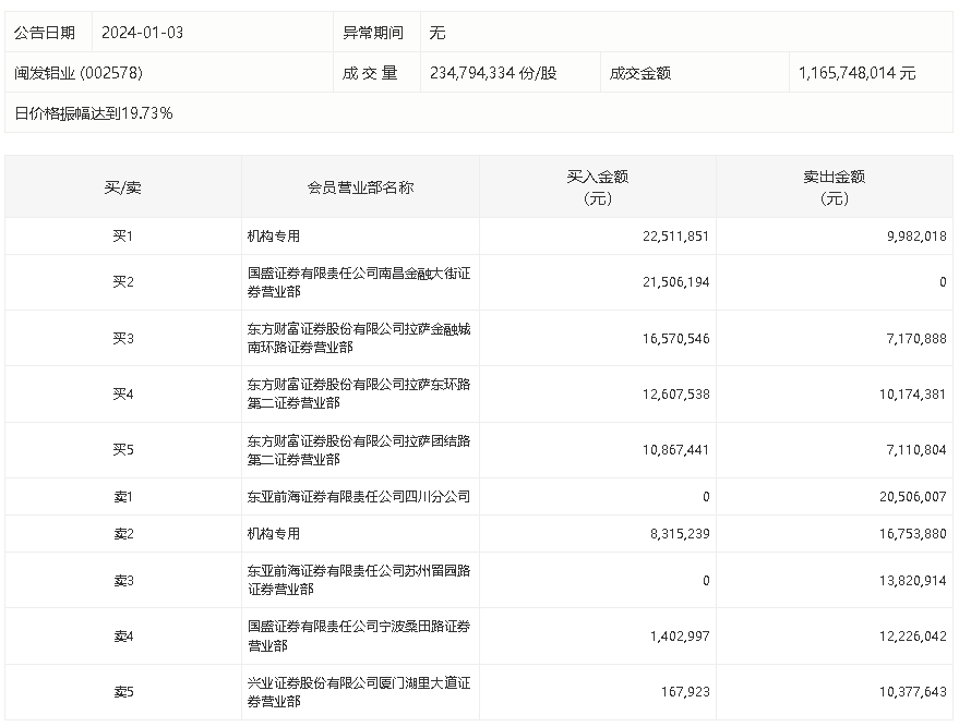
1月3日,闽发铝业今日跌7.51%,龙虎榜数据显示,上榜营业部席位全天成交2.02亿元,占当日总成交金额比例为17.33%。其中,买入金额为9394.97万元,卖出金额为1.08亿元,合计净卖出1417.28万元。
具体来看,机构买入3082.71万元,卖出2673.59万元,合计净买入409.12万元。此外,知名游资现身龙虎榜,宁波桑田路(国盛证券有限责任公司宁波桑田路证券营业部)净卖出1082.30万元。此外,东亚前海证券四川分公司、东亚前海证券苏州留园路证券营业部分别卖出2050.60万元、1382.09万元;国盛证券南昌金融大街证券营业部、东方财富证券拉萨金融城南环路证券营业部分别买入2150.62万元、1657.05万元。

评论