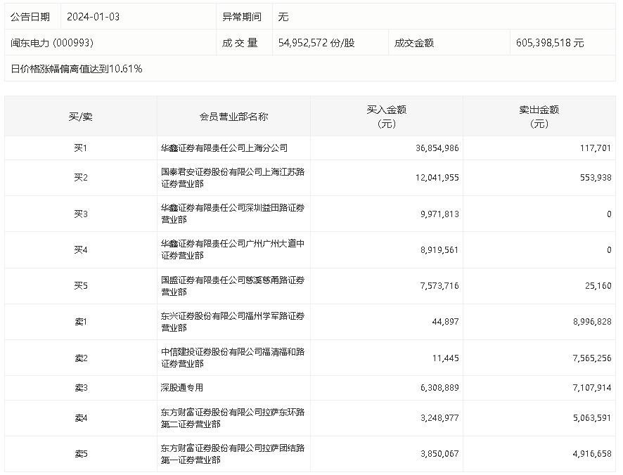
1月3日,闽东电力今日涨停,龙虎榜数据显示,上榜营业部席位全天成交1.23亿元,占当日总成交金额比例为20.35%。其中,买入金额为8882.63万元,卖出金额为3434.7万元,合计净买入5447.93万元。
具体来看,知名游资现身龙虎榜,华鑫证券上海分公司、章盟主(国泰君安证券上海江苏路证券营业部)分别买入3685.50万元、1204.20万元;东兴证券福州学军路证券营业部、中信建投证券福清福和路证券营业部分别卖出899.68万元、756.53万元。

来源:界面新闻
1月3日,闽东电力今日涨停,龙虎榜数据显示,上榜营业部席位全天成交1.23亿元,占当日总成交金额比例为20.35%。其中,买入金额为8882.63万元,卖出金额为3434.7万元,合计净买入5447.93万元。
具体来看,知名游资现身龙虎榜,华鑫证券上海分公司、章盟主(国泰君安证券上海江苏路证券营业部)分别买入3685.50万元、1204.20万元;东兴证券福州学军路证券营业部、中信建投证券福清福和路证券营业部分别卖出899.68万元、756.53万元。

评论