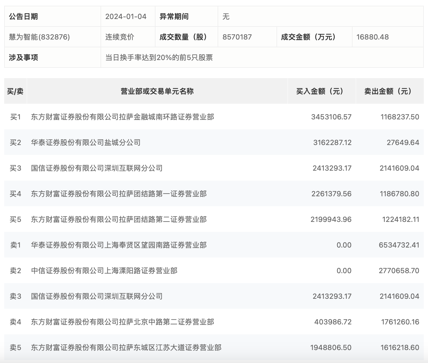
1月4日,慧为智能今日涨3.24%,龙虎榜数据显示,上榜营业部席位全天成交3427.41万元,占当日总成交金额比例为20.3%。其中,买入金额为1584.28万元,卖出金额为1843.13万元,合计净卖出258.85万元。
具体来看,知名游资现身龙虎榜,东方财富证券拉萨金融城南环路证券营业部、华泰证券盐城分公司分别买入345.31万元、316.23万元;华泰证券上海奉贤区望园南路证券营业部、孙哥(中信证券上海溧阳路证券营业部)分别卖出653.47万元、277.07万元。

来源:界面新闻
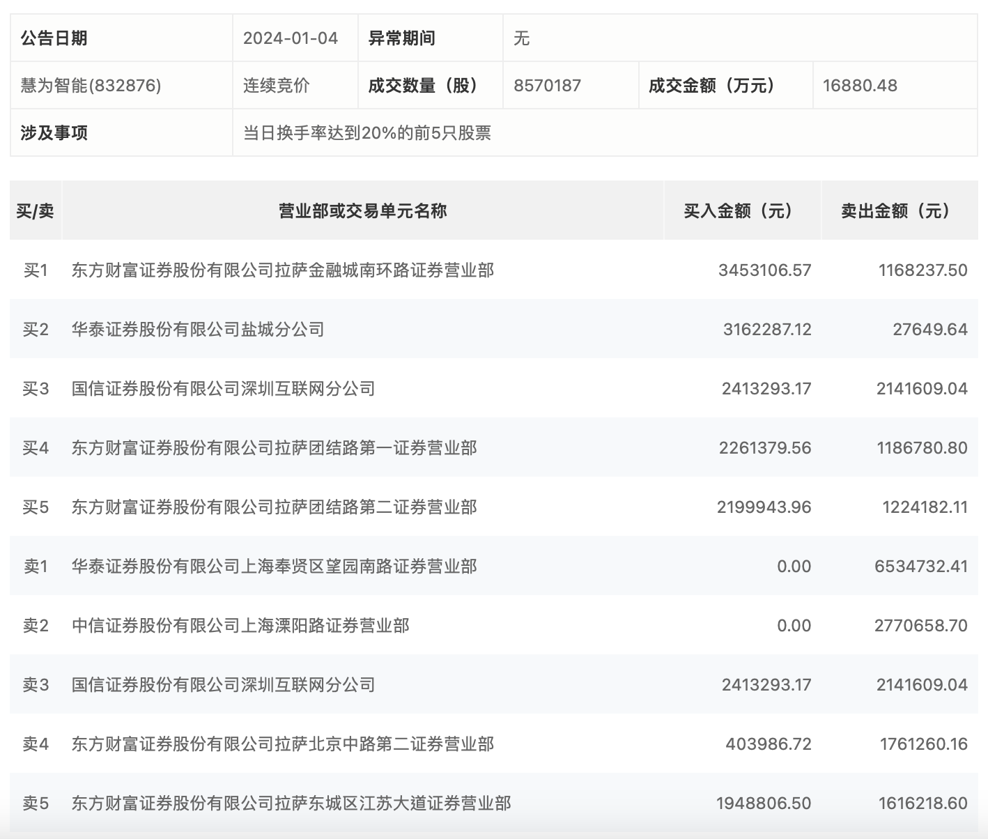
1月4日,慧为智能今日涨3.24%,龙虎榜数据显示,上榜营业部席位全天成交3427.41万元,占当日总成交金额比例为20.3%。其中,买入金额为1584.28万元,卖出金额为1843.13万元,合计净卖出258.85万元。
具体来看,知名游资现身龙虎榜,东方财富证券拉萨金融城南环路证券营业部、华泰证券盐城分公司分别买入345.31万元、316.23万元;华泰证券上海奉贤区望园南路证券营业部、孙哥(中信证券上海溧阳路证券营业部)分别卖出653.47万元、277.07万元。

评论