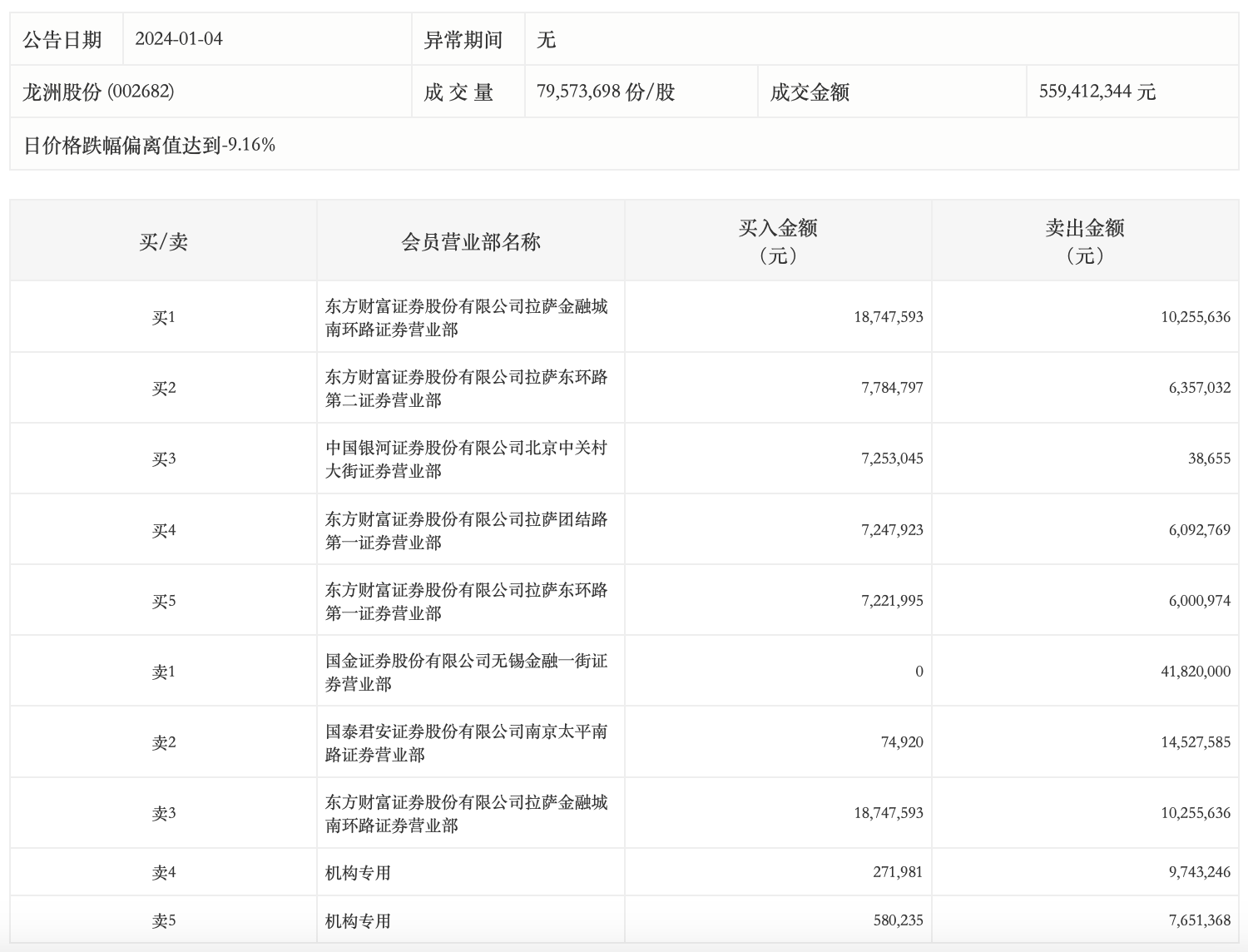
1月4日,龙洲股份今日跌停,龙虎榜数据显示,上榜营业部席位全天成交1.52亿元,占当日总成交金额比例为27.11%。其中,买入金额为4918.25万元,卖出金额为1.02亿元,合计净卖出5330.48万元。
具体来看,机构买入85.22万元,卖出1739.46万元,合计净卖出1654.24万元。此外,知名游资现身龙虎榜,国金证券无锡金融一街证券营业部、作手新一(国泰君安证券南京太平南路证券营业部)分别卖出4182.00万元、1452.76万元;东方财富证券拉萨金融城南环路证券营业部、东方财富证券拉萨东环路第二证券营业部分别买入1874.76万元、778.48万元。

评论