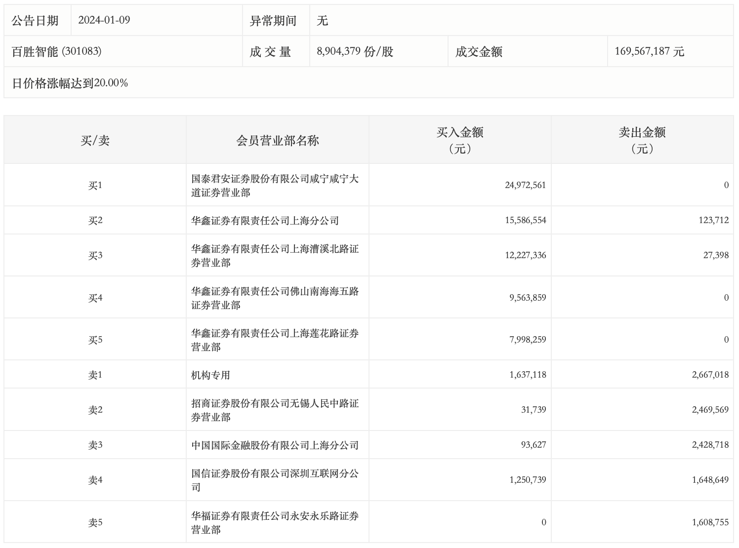
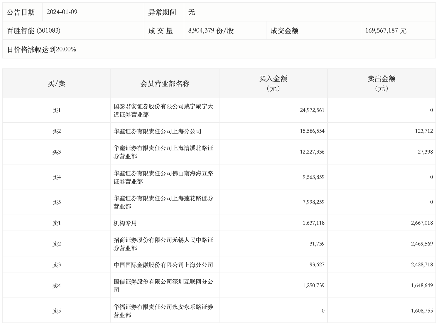
1月9日,百胜智能今日涨停,全天换手率达16.23%,振幅达19.74%。龙虎榜数据显示,营业部席位合计净买入6238.8万元。其中,机构买入163.71万元,卖出266.7万元,合计净卖出102.99万元。此外,国泰君安证券咸宁咸宁大道证券营业部、华鑫证券上海分公司分别买入2497.26万元、1558.66万元;招商证券无锡人民中路证券营业部、中国国际金融上海分公司分别卖出246.96万元、242.87万元。

来源:界面新闻
1月9日,百胜智能今日涨停,全天换手率达16.23%,振幅达19.74%。龙虎榜数据显示,营业部席位合计净买入6238.8万元。其中,机构买入163.71万元,卖出266.7万元,合计净卖出102.99万元。此外,国泰君安证券咸宁咸宁大道证券营业部、华鑫证券上海分公司分别买入2497.26万元、1558.66万元;招商证券无锡人民中路证券营业部、中国国际金融上海分公司分别卖出246.96万元、242.87万元。

评论