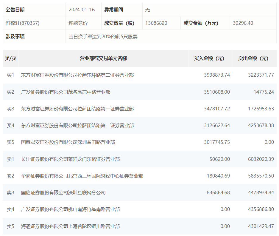
雅葆轩1月16日涨22.76%,全天换手率达58.99%,振幅达28.59%。龙虎榜数据显示,营业部席位合计净卖出1602.33万元。其中,东方财富证券拉萨东环路第二证券营业部、广发证券茂名高凉中路营业部分别买入399.89万元、351.06万元;长江证券莱阳龙门东路证券营业部、华泰证券北京西三环国际财经中心证券营业部分别卖出603.20万元、583.56万元。

来源:界面新闻
雅葆轩1月16日涨22.76%,全天换手率达58.99%,振幅达28.59%。龙虎榜数据显示,营业部席位合计净卖出1602.33万元。其中,东方财富证券拉萨东环路第二证券营业部、广发证券茂名高凉中路营业部分别买入399.89万元、351.06万元;长江证券莱阳龙门东路证券营业部、华泰证券北京西三环国际财经中心证券营业部分别卖出603.20万元、583.56万元。

评论