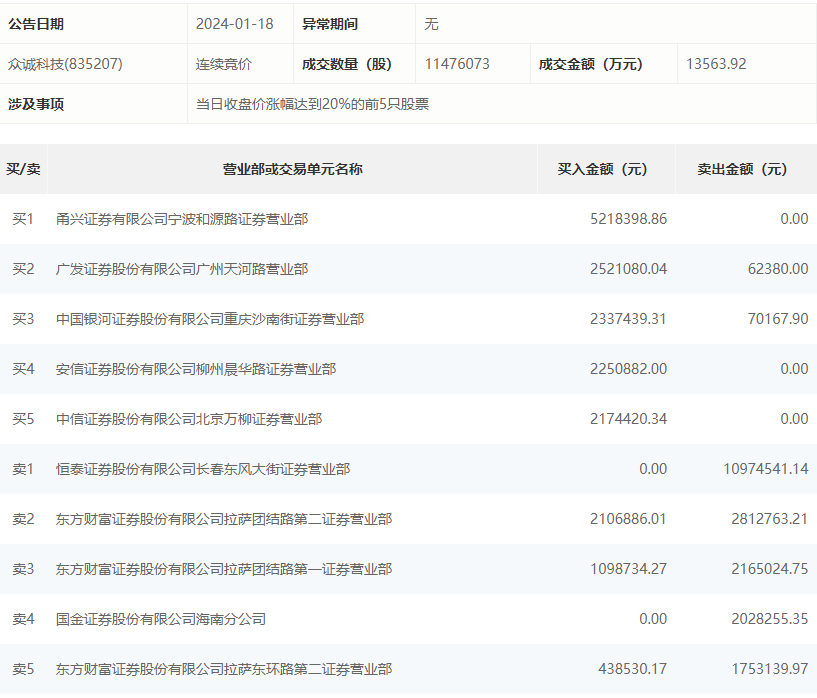
1月18日,众诚科技今日涨23.54%,全天换手率达32.59%,振幅达33.93%。龙虎榜数据显示,营业部席位合计净卖出171.99万元。其中,甬兴证券有限公司宁波和源路证券营业部、广发证券广州天河路营业部分别买入521.84万元、252.11万元;恒泰证券长春东风大街证券营业部、东方财富证券拉萨团结路第二证券营业部分别卖出1097.45万元、281.28万元。

来源:界面新闻
1月18日,众诚科技今日涨23.54%,全天换手率达32.59%,振幅达33.93%。龙虎榜数据显示,营业部席位合计净卖出171.99万元。其中,甬兴证券有限公司宁波和源路证券营业部、广发证券广州天河路营业部分别买入521.84万元、252.11万元;恒泰证券长春东风大街证券营业部、东方财富证券拉萨团结路第二证券营业部分别卖出1097.45万元、281.28万元。

评论