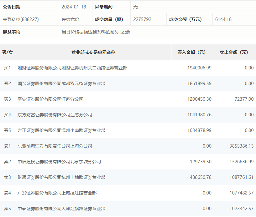
1月18日,美登科技今日涨10.82%,全天换手率达21.6%,振幅达27.92%。龙虎榜数据显示,营业部席位合计净卖出74.54万元。其中,湘财证券湘财证券杭州文二西路证券营业部、国金证券成都双元街证券营业部分别买入194.00万元、186.19万元;东亚前海证券上海分公司、中信建投证券北京东城分公司分别卖出385.54万元、132.66万元。

来源:界面新闻
1月18日,美登科技今日涨10.82%,全天换手率达21.6%,振幅达27.92%。龙虎榜数据显示,营业部席位合计净卖出74.54万元。其中,湘财证券湘财证券杭州文二西路证券营业部、国金证券成都双元街证券营业部分别买入194.00万元、186.19万元;东亚前海证券上海分公司、中信建投证券北京东城分公司分别卖出385.54万元、132.66万元。

评论