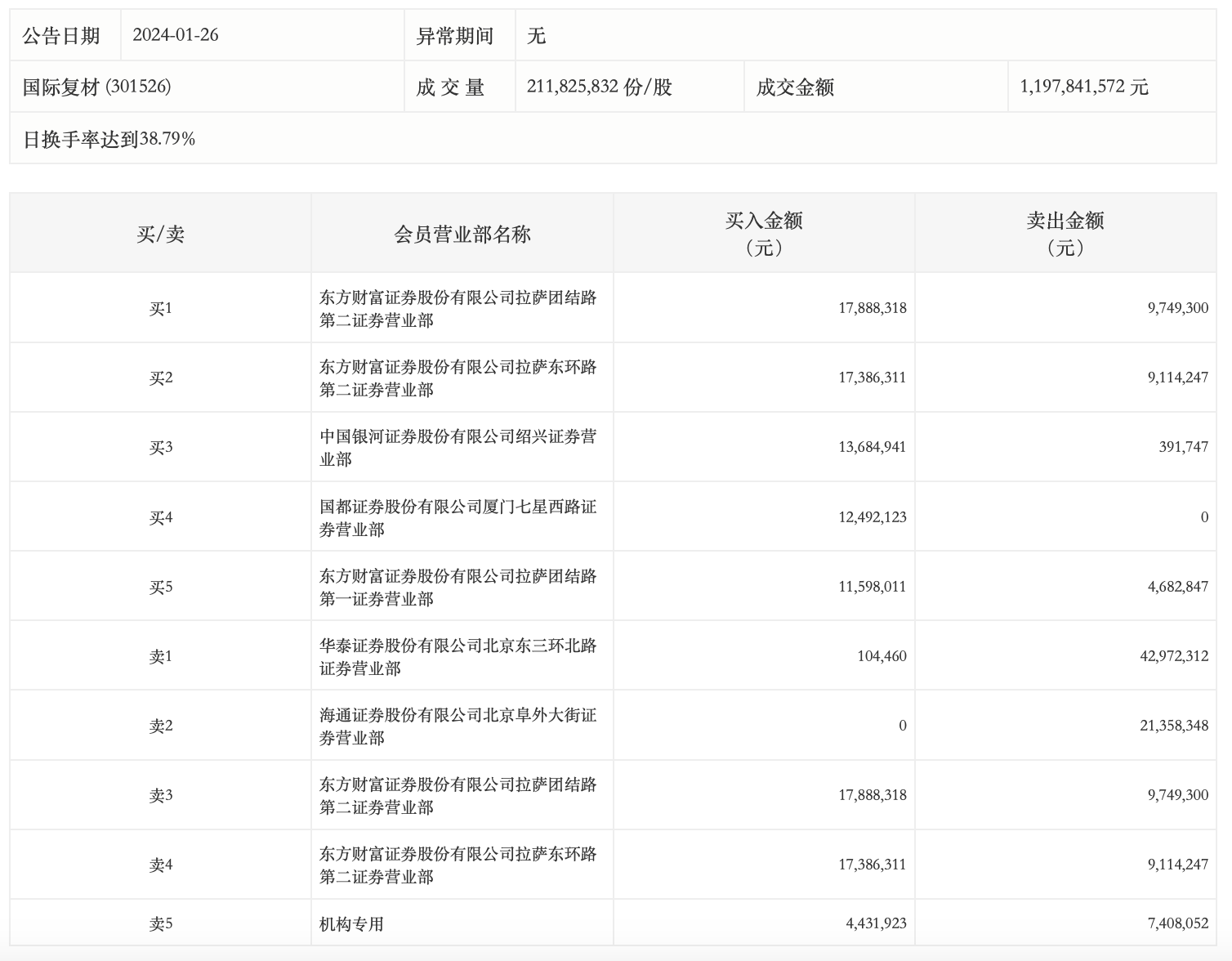
1月26日,国际复材今日涨7.75%,龙虎榜数据显示,上榜营业部席位全天成交1.73亿元,占当日总成交金额比例为14.46%。其中,买入金额为7758.61万元,卖出金额为9567.69万元,合计净卖出1809.08万元。
具体来看,机构买入443.19万元,卖出740.81万元,合计净卖出297.61万元。此外,知名游资现身龙虎榜,东方财富证券拉萨团结路第二证券营业部、东方财富证券拉萨东环路第二证券营业部分别买入1788.83万元、1738.63万元;华泰证券北京东三环北路证券营业部、著名刺客(海通证券北京阜外大街证券营业部)分别卖出4297.23万元、2135.83万元。

评论