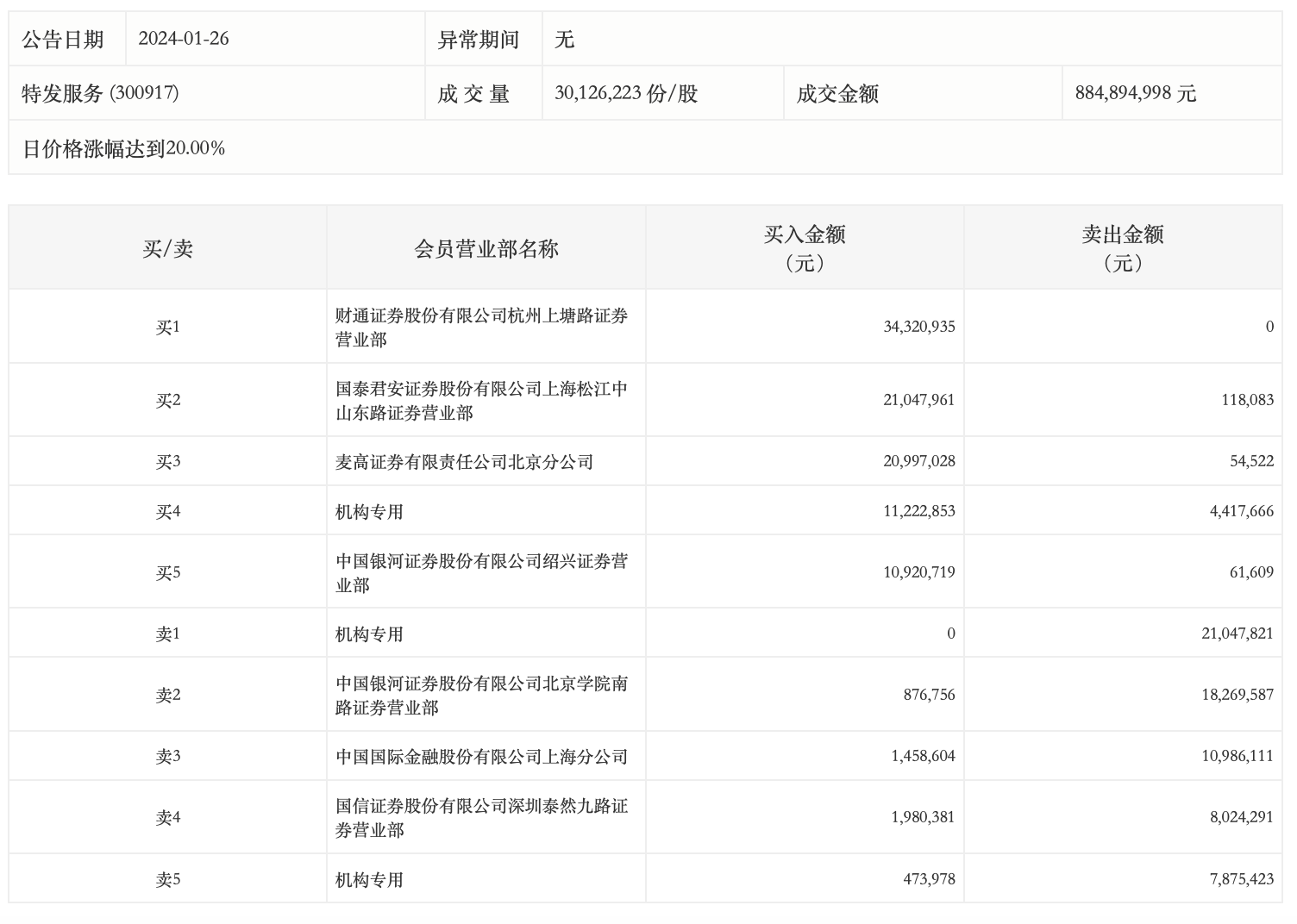
1月26日,特发服务今日涨停,龙虎榜数据显示,上榜营业部席位全天成交1.74亿元,占当日总成交金额比例为19.68%。其中,买入金额为1.03亿元,卖出金额为7085.51万元,合计净买入3244.41万元。
具体来看,机构买入1169.68万元,卖出3334.09万元,合计净卖出2164.41万元。此外,知名游资现身龙虎榜,赵老哥(中国银河证券股份有限公司绍兴证券营业部)净买入1085.91万元。此外,财通证券杭州上塘路证券营业部、国泰君安证券上海松江中山东路证券营业部分别买入3432.09万元、2104.80万元;中国银河证券北京学院南路证券营业部、中国国际金融上海分公司分别卖出1826.96万元、1098.61万元。

评论