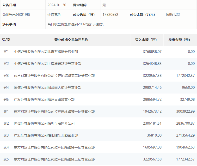
1月30日,微创光电今日涨停,龙虎榜数据显示,上榜营业部席位全天成交3428.6万元,占当日总成交金额比例为20.23%。其中,买入金额为2201.24万元,卖出金额为1227.36万元,合计净买入973.89万元。
具体来看,知名游资现身龙虎榜,中信证券北京万柳证券营业部、孙哥(中信证券上海溧阳路证券营业部)分别买入376.89万元、326.43万元;东方财富证券拉萨东环路第一证券营业部、国信证券深圳互联网分公司分别卖出300.39万元、283.67万元。

来源:界面新闻
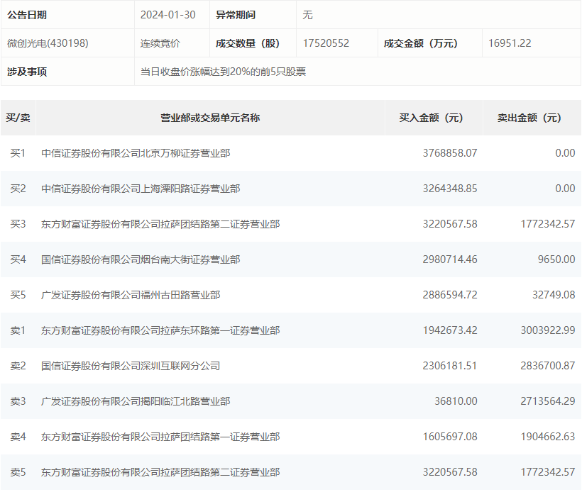
1月30日,微创光电今日涨停,龙虎榜数据显示,上榜营业部席位全天成交3428.6万元,占当日总成交金额比例为20.23%。其中,买入金额为2201.24万元,卖出金额为1227.36万元,合计净买入973.89万元。
具体来看,知名游资现身龙虎榜,中信证券北京万柳证券营业部、孙哥(中信证券上海溧阳路证券营业部)分别买入376.89万元、326.43万元;东方财富证券拉萨东环路第一证券营业部、国信证券深圳互联网分公司分别卖出300.39万元、283.67万元。

评论