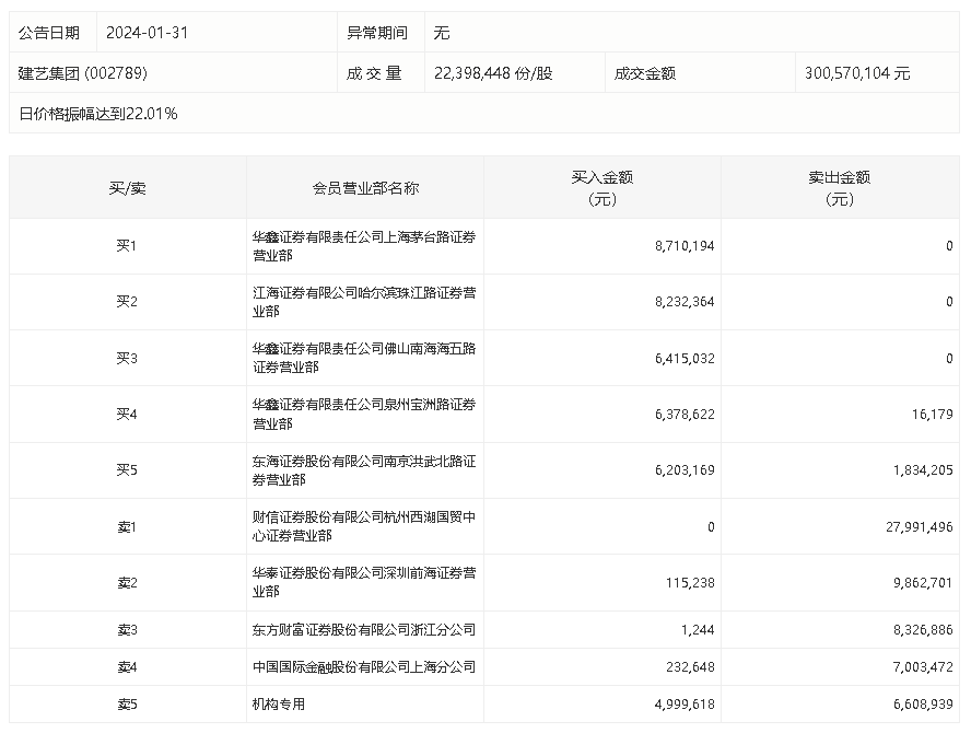
1月31日,建艺集团今日跌8.83%,龙虎榜数据显示,上榜营业部席位全天成交1.03亿元,占当日总成交金额比例为34.25%。其中,买入金额为4128.81万元,卖出金额为6164.39万元,合计净卖出2035.57万元。
具体来看,机构买入499.96万元,卖出660.89万元,合计净卖出160.93万元。此外,知名游资现身龙虎榜,财信证券杭州西湖国贸中心证券营业部、华泰证券深圳前海证券营业部分别卖出2799.15万元、986.27万元;炒股养家(华鑫证券上海茅台路证券营业部)、江海证券有限公司哈尔滨珠江路证券营业部分别买入871.02万元、823.24万元。

评论