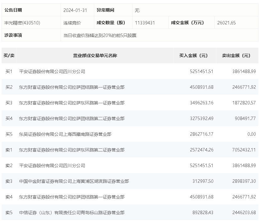
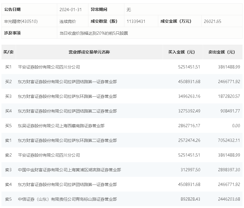
1月31日,丰光精密今日涨21.65%,全天换手率达18.02%,振幅达27.76%。龙虎榜数据显示,营业部席位合计净买入166.64万元。其中,平安证券四川分公司、东方财富证券拉萨团结路第一证券营业部分别买入525.15万元、450.89万元;东方财富证券拉萨东环路第二证券营业部、平安证券四川分公司分别卖出705.24万元、386.15万元。

来源:界面新闻
1月31日,丰光精密今日涨21.65%,全天换手率达18.02%,振幅达27.76%。龙虎榜数据显示,营业部席位合计净买入166.64万元。其中,平安证券四川分公司、东方财富证券拉萨团结路第一证券营业部分别买入525.15万元、450.89万元;东方财富证券拉萨东环路第二证券营业部、平安证券四川分公司分别卖出705.24万元、386.15万元。

评论