文|聚美丽
从化妆品原料备案开闸之日起,新原料的增速就持续保持爆发式增长,且国内外美妆企业都加快了原料创新的步伐。
今年开年,仅1个月,化妆品原料备案就化妆品原料备案新增12款,而2023年1月与2022年1月,皆仅备案3款。

从数据来看,原料备案延续了上年的爆发之势。不过,聚美丽在梳理1月化妆品原料备案情况后发现,今年开年的原料备案潮中有几个趋势:国际企业相继入局、美妆品牌持续加码、抗衰成分备受青睐、植物原料仍是热门。
1月12款备案,国内原料占比75%
从1月的统计来看,仅1月16日单日备案数量就有5款,备案企业分别是深圳市维琪科技股份有限公司、华熙生物科技股份有限公司、赢创运营有限公司。


同时,我们还发现今年原料备案有几个比较鲜明的特点:
1、莹特丽、赢创在华备案新原料,国内知名品牌持续加码原料
中国作为多家国际美妆企业的重要市场,一直备受重视。从原料端看,2023年,资生堂、伊士曼等十多家国际企业进行相关备案。
在今年1月,赢创、莹特丽相继入场,两家国际企业在华备案化妆品原料。
其中,赢创备案2款新原料,分别为聚甘油-3 硬脂酸酯/癸二酸酯交联聚合物、双-(异硬脂酰/油酰异丙基)二甲基铵甲基硫酸盐;莹特丽备案的则是双羟基乙基PPG/PEG-7/4二氰甲基噻吩偶氮甲苯胺三乙氧基硅丙基氨基甲酸酯。

除了国际“玩家”接连入局外,国内知名美妆企业也在持续加码自有原料。
譬如,华熙生物备案岩藻糖基乳糖;贝泰妮则备案了短莛飞蓬(ERIGERON BREVISCAPUS)提取物、荔枝草(SALVIA PLEBEIA)提取物。
截至目前,这两家企业均备案了5款新原料,合计占比美妆品牌企业备案原料逾4成。

原料备案在一定程度也体现出企业的布局走向。比如,谈及华熙生物,立刻会想到透明质酸。但近年来,华熙生物瞄准合成生物,将自己定义为一家“以合成生物科技创新驱动的生物科技公司”。
公开资料显示,岩藻糖基乳糖又称2'-岩藻糖基乳糖(2'-FL),是一种由岩藻糖基和乳糖组成的二糖化合物。其中,岩藻糖基是一种天然存在于海藻、菌类和真菌中的多糖,具有保湿、抗氧化、抗炎和抗菌等多种生物活性,而乳糖是乳制品中主要的糖分之一,被人体内的乳糖酶分解为葡萄糖和半乳糖后再被吸收利用。
目前,产业化生产2'-FL的主要方式是生物合成微生物发酵法,华熙生物此次的备案也是其聚焦合成生物的证明。
此外,华熙生物备案的岩藻糖基乳糖是目前国内首个通过化妆品原料备案的母乳低聚糖类原料。在2023年下半年,国家卫健委批准岩藻糖基乳糖可作为食品添加剂。
2、植提原料成趋势
贝泰妮则注重植物提取原料,近两年备案的5款原料均是其云南特色植物提取实验室的研发成果。贝泰妮利用中国特色植物优势,助推植物原料发展,也在一定程度说明植提原料渐成趋势。
如果说贝泰妮的原料是基于中国西南的特色植物研究,那今年开年首个备案的植物原料则来自东北。
南芯医疗于1月11日备案新原料东北刺参(OPLOPANAX ELATUS)不定根提取物。

图片来源:国家药监局
据悉,东北刺参又称刺人参,为五加科刺人参属,多分布于中国吉林(长白山)地区,同时也被誉为木本人参,有极高的药用价值。在化妆品领域,该原料有良好的保湿、美白以及抗炎舒缓能力。
而仙婷(广州)科技研发有限公司最新备案的塔凯榛桐(CARYODENDRON ORINOCENSE)籽油,又称 Cacay 油,是一款天然植物油类原料,具有良好的保湿、抗皱效果。
植提原料的增长绝不是偶然。中国地大物博,植物资源丰富,利于企业因地制宜研发植物原料。在市场端,消费者普遍认为植物原料更天然、健康。同时,品牌可结合中国特色植物原料,构建品牌文化,讲品牌故事。
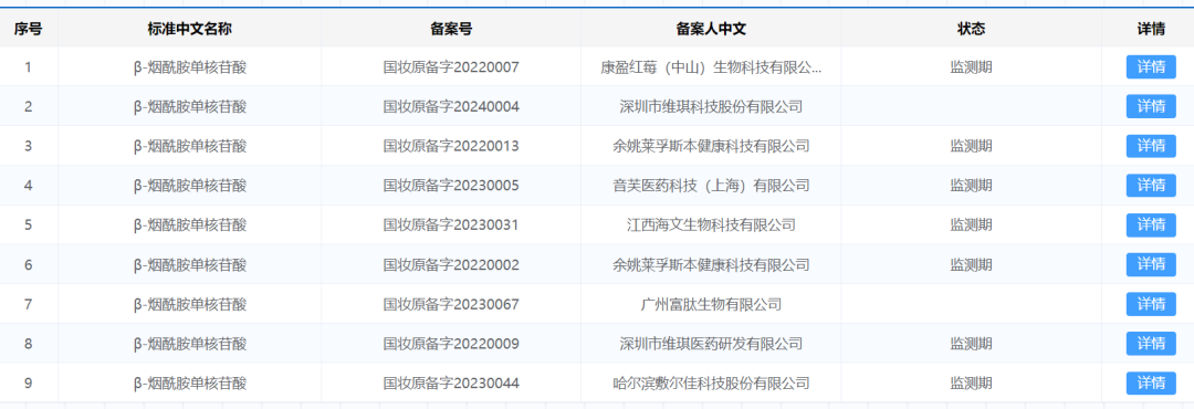
另外,“老熟人”β-烟酰胺单核苷酸(NMN)又双叒通过备案。国家药监局显示,这是NMN第9次通过备案,备案企业为维琪科技。

图片来源:国家药监局
基于近年市场对于抗衰老、抗氧化的需求扩张,NMN赛道被“疯”抢。据公开资料显示,NMN是一种在人体内天然存在的物质,也是生物体内产生NAD+(烟酰胺腺嘌呤二核苷酸)的前体。
一些研究表明,NMN能提供能量代谢支持、有抗衰老及抗氧化作用、改善血管功能等。而未来的化妆品行业在“大颜值产业”时代下,会与大健康、年轻化的减龄医美等领域相互交融。因此,NMN受到青睐也是可以预见的。
从上文来看,今年1月原料备案提速,数量同比大幅提升;国产原料占比75%;国际企业相继布局中国市场,在华备案新原料;本土美妆品牌企业持续加码原料赛道;植物原料仍是“热门”,占本月原料备案的1/3。
多方利好原料“爆发”,但仍存挑战
化妆品原料爆发式增长不是一蹴而就的,而是企业、市场、政府等多方共同努力的成果。
譬如,在政策支持和法规的放宽方面,2023年11月,国家药监局发布《国家药监局关于化妆品新原料鼓励创新和规范管理有关事宜的公告(2023年第143号)》,旨在鼓励和支持化妆品新原料研究创新,规范新原料研发使用和注册备案管理,确保原料和产品质量安全。
其中还明确指出,鼓励结合我国传统优势项目和特色植物资源开发化妆品新原料,支持运用现代科学技术进行化妆品原料研究创新。
2023年12月,中检院发布了《化妆品新原料沟通交流工作机制(试行)》,化妆品新原料注册人、备案人可在申请注册或者进行备案前,通过化妆品智慧申报审评系统,对重要技术问题提出沟通交流申请。
此外,2021年新规施行,化妆品原料备案开闸放水,数量逐年升高呈爆发式增长,也是法规政策推动原料发展的佐证之一。
同时,市场流行的热门趋势也或推动相关原料的备案, 就比如上文提及的NMN,受多家企业青睐。
另一方面,不管是植提,还是生物原料等,都需要技术支撑。原料和技术是相辅相成的,技术发展能推动原料的创新。
“卷”原料,也会倒逼企业提升科学技术,推动行业正向发展。这一点从资本市场的动向也能窥见。我们发现,即便是在投融资趋于冷静的2023年,市场上仍有不少原料技术相关的融资事件。据聚美丽不完全统计,2023年在原料技术相关的融资至少20起,而这也从侧面反应出资本市场对于上游原料的看好。

而这些投融资事件的发生,其实与中国的强大与原料的崛起不无关系。
修远资本管理合伙人严明在接受聚美丽采访时就表示,“中国如果没有技术崛起的话,我相信他们也不可能去投这些商业的原料供应商,这是很重要,背后的逻辑是中国整体自身的强大来支撑了化妆品行业的商业原料。”
政府支持,市场利好下,国产化妆品原料备案正在加速加量,这使得中国化妆品原料被“卡脖子”的问题有望解决。
不过,原料备案大盘向好发展的同时,仍存一些挑战。
譬如,企业在新原料研发及其备案时,要结合市场趋势和需求,考虑商业化价值,不然投入大量成本却难以回收。
另外,新原料备案并不表示“万事大吉”,还要度过检测期,纳入已使用化妆品原料目录。同时,今年5月起,企业需提供完整版产品安全评估报告,要求也会更严格。
但总的来说,国产化妆品原料的“爆发”体现了企业的活力和野心,也给行业追赶国际一些信心,在多方利好、监管严格的情况下,国产原料在不久的将来或会迎来弯道超车的局面。



评论