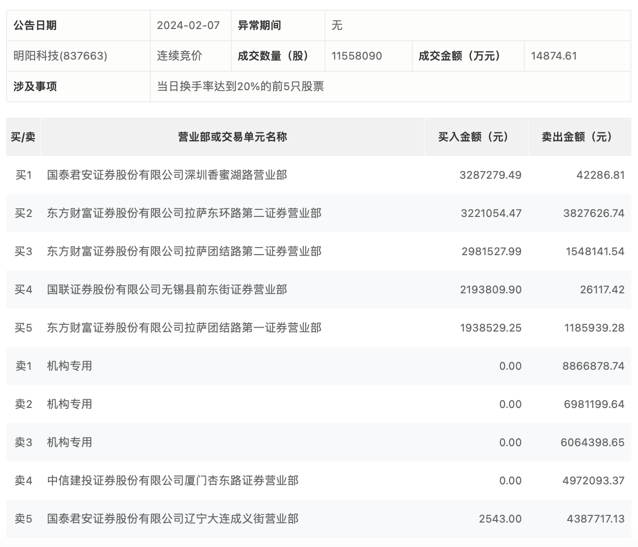
2月7日,明阳科技今日跌16.17%,全天换手率达38.04%,振幅达11.8%。龙虎榜数据显示,营业部席位合计净卖出2427.77万元。其中,机构合计净卖出2191.25万元。此外,中信建投证券厦门杏东路证券营业部、国泰君安证券辽宁大连成义街营业部分别卖出497.21万元、438.77万元;国泰君安证券深圳香蜜湖路营业部、东方财富证券拉萨东环路第二证券营业部分别买入328.73万元、322.11万元。

来源:界面新闻
2月7日,明阳科技今日跌16.17%,全天换手率达38.04%,振幅达11.8%。龙虎榜数据显示,营业部席位合计净卖出2427.77万元。其中,机构合计净卖出2191.25万元。此外,中信建投证券厦门杏东路证券营业部、国泰君安证券辽宁大连成义街营业部分别卖出497.21万元、438.77万元;国泰君安证券深圳香蜜湖路营业部、东方财富证券拉萨东环路第二证券营业部分别买入328.73万元、322.11万元。

评论