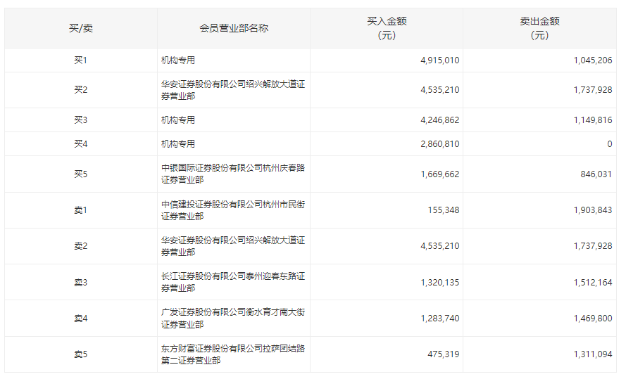
2月8日,美丽生态今日上涨9.55%,全天换手率9.27%,成交额8389.69万元,振幅22.50%。龙虎榜数据显示,机构净买入982.77万元,营业部席位合计净买入65.86万元。深交所公开信息显示,当日该股因日振幅值达22.50%上榜,机构专用席位净买入982.77万元。统计显示,上榜的前五大买卖营业部合计成交3243.80万元,其中,买入成交额为2146.21万元,卖出成交额为1097.59万元,合计净买入1048.62万元。

来源:界面新闻
2月8日,美丽生态今日上涨9.55%,全天换手率9.27%,成交额8389.69万元,振幅22.50%。龙虎榜数据显示,机构净买入982.77万元,营业部席位合计净买入65.86万元。深交所公开信息显示,当日该股因日振幅值达22.50%上榜,机构专用席位净买入982.77万元。统计显示,上榜的前五大买卖营业部合计成交3243.80万元,其中,买入成交额为2146.21万元,卖出成交额为1097.59万元,合计净买入1048.62万元。

评论